Запчасти Case IH 45 (F-07) - ROD WEEDER AUXILIARY PTO DRIVE, HAYES, SPICER

Схема запчастей Case IH 45 - (F-07) - ROD WEEDER AUXILIARY PTO DRIVE, HAYES, SPICER
FIT
1:1
100%

Артикул

Название

Примечание

Количество

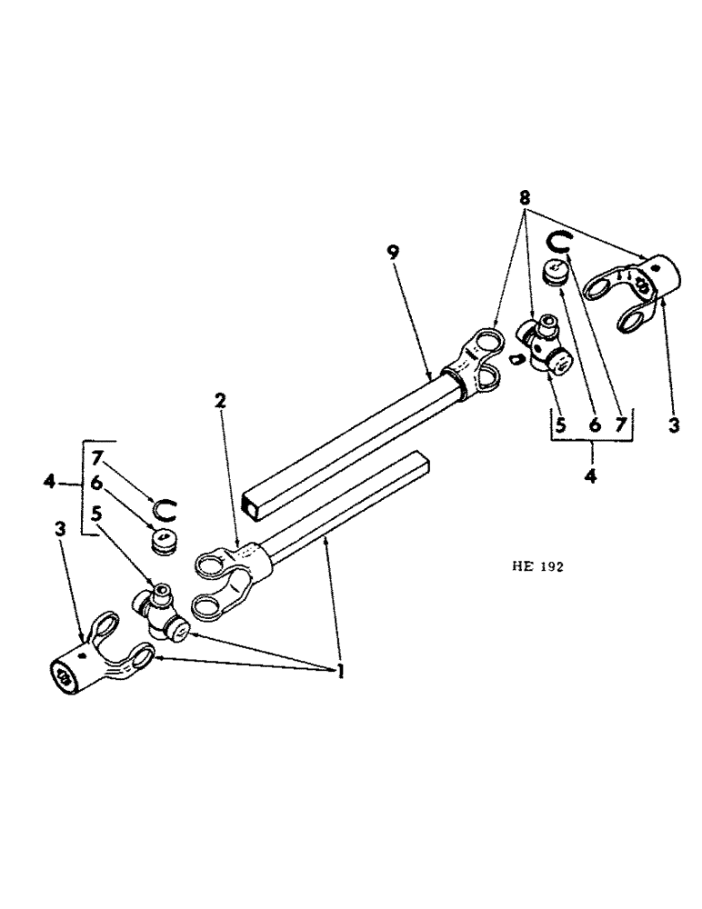
1

596977R91

JOINT ASSY, shaft inner half, includes 1-597148R1, yoke, 1-597147R1, yoke & 1-208959R91, service package

1шт.

2

597148R1

YOKE AND SHAFT ASSY, inner

1шт.

3

597147R1

YOKE

front and rear, includes 1-379990R1, pin and 1-103384, pin

2шт.

379990R1

HEADED PIN

PIN, 3/8 x 2 std-hd-dld

2шт.

103384

COTTER PIN,1/8" x 3/4"

Pin, Split (Cotter), 1/8" x 3/4"

2шт.

4

208959R91

KIT

PACKAGE, center cross service, consists of, (4) bearing 210889R91 (1) fitting 17238R1, (4) ring 975666R1, (1) cross (NSS)

1шт.

5

CROSS, universal center, not serviced separately, for service order 1-208959R91, center cross service package

2шт.

17238R1

FITTING, 1/4-28 NF 65 deg lub

2шт.

6

210889R91

BEARING

center cross

8шт.

7

975666R1

RING

bearing retaining

8шт.

8

598609R91

JOINT ASSY, tube outer half, includes 1-598912R1, yoke, 1-597147R1, yoke & 1-208959R91, service package 37.81, 2.5" Length

1шт.

9

598912R1

YOKE AND TUBE ASSY, outer 37.344, 0.469" Length

1шт.

Выбрано товаров: 0