Запчасти Case IH 45 (G-10) - SLOW MOVING VEHICLE EMBLEM, PRODUCT GRAPHICS

Схема запчастей Case IH 45 - (G-10) - SLOW MOVING VEHICLE EMBLEM, PRODUCT GRAPHICS
FIT
1:1
100%

Артикул

Название

Примечание

Количество

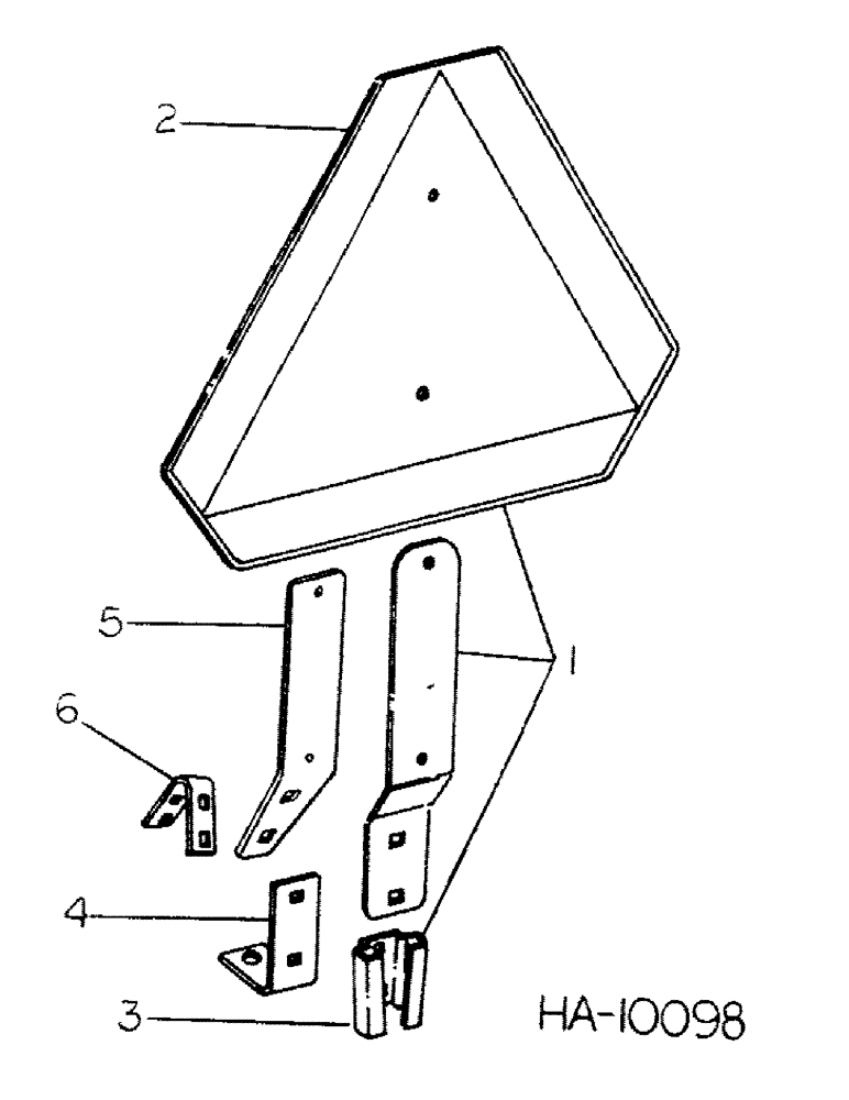
1

407220R1

PRODUCT GRAPHIC

PACKAGE, SMV emblem, steel, replaces 407218R1

1шт.

2

407263R1

PRODUCT GRAPHIC,SMV Triangle Yellow Orange

PACKAGE, SMV emblem film kit

1шт.

3

398976R1

BRACKET

SMV mounting

1шт.

598802R1

CARRIAGE BOLT,Short NK, 5/16"-18 x 3/4", G5, Full Thd

BOLT, 5/16-18 x 3/4 crg

2шт.

120376

NUT,5/16"-18, G5

2шт.

80681

LOCK WASHER,5/16"

WASHER, LOCK, 5/16"

2шт.

4

811324C1

SUPPORT

ANGLE, SMV emblem mounting

1шт.

5

(Not used this application)

1шт.

6

(Not used this application)

1шт.

2753856R1

PRODUCT graphic, model designation, 45 vibra tine

1шт.

61907C1

DECAL

PRODUCT graphic, general warning, English

1шт.

71483C1

PRODUCT GRAPHIC

general warning, French

1шт.

71484C1

PRODUCT GRAPHIC

general warning, Spanish

1шт.

624957R1

DECAL

PRODUCT graphic, safety reflective tape red

2шт.

487166R1

TAPE

PRODUCT graphic, safety reflective tape amber

1шт.

175311C1

REFLECTOR

safety red

2шт.

174732C1

REFLECTOR

safety, amber

1шт.

PRODUCT graphic, model designation, for service order 810052C92, package

1шт.

810052C92

KIT

PACKAGE, product graphic service consists of, (1) model design (NSS), (2) reflectors 175311C1, (1) reflector 174732C1, (1) product graphic 61907C1

1шт.

77583C91

PACKAGE

1шт.

PACKAGE, IH trademark, large size, consists of (2) IH trademark 6.58 x 7.09 (NSS), (2) IH trademark 7.68 x 8.27 (NSS), (2) IH trademark 10.24 x 11.02 (NSS), (2) IH trademark 3.66 x 3.94 (NSS) (2) IH trademark 3.66 x 3.94 (NSS), IH trademark 5.48 x 5.91 (NSS)

1шт.

77581C91

PRODUCT GRAPHIC

PACKAGE, IH trademark, small size, consists of, (2) IH trademark 1.46 x 1.57 (NSS), IH trademark 2.19 x 2.36 (NSS), (2) IH trademark 2.93 x 3.15 (NSS), product graphic

1шт.

547495R92

DECAL KIT

PACKAGE, International name, for red machines, consists of, (2) International 8.56 x .56 (NSS), (2) International 14.06 x .94 (NSS), (2) International 23.12 x 1.50 (NSS), (2) International 35.12 x 2.25 (NSS), product graphics

1шт.

547497R92

DECAL

PACKAGE, model designation, for red machines, consists of, (2) model designation 8.78 x 2.45 (NSS), (2) model designation 14.08 x 4.50 (NSS), (2) model designation 20.04 x 7.57 (NSS), (2) model designation 15.20 x 7.56 (NSS), product graphics

1шт.

Выбрано товаров: 0