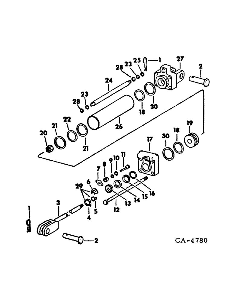
Запчасти Case IH 45 (B-22) - C-FRAME LIFT HYDRAULIC CYLINDER

Схема запчастей Case IH 45 - (B-22) - C-FRAME LIFT HYDRAULIC CYLINDER
FIT
1:1
100%

Артикул

Название

Примечание

Количество

371291R96

CYLINDER BLOCK

CYLINDER ASSY, 2-1/2 x 8 in. double acting hydraulic

1шт.

1

520175R1

CLIP

PIN, 3/46 quick-attachable cot

2шт.

2

61571C1

PIN

headed pivot

2шт.

3

60784C91

ROD

ASSY, piston

1шт.

4

361085R91

CLAMP

stroke limit collar

1шт.

5

360372R1

COLLAR

stroke limit plain half

1шт.

6

361010R1

COLLAR

stroke limit flanged half

1шт.

7

361009R1

PLATE

limit stop valve retainer

1шт.

172792

SCREW, 1/4-20 x 9/16 hex-hd cap

2шт.

8

361007R11

RETAINER

ASSY, limit stop valve

1шт.

9

21590R1

O-RING,0.07" Thk x 0.176" ID, -8, Cl 6, 90 Duro

3/16 x 5/16 x 1/16, limit stop valve

1шт.

10

350429R1

O-RING,0.103" Thk x 0.612" ID, -114, Cl 5, 75 Duro

5/8 x 13/16 x 3/32, limit stop valve retainer large

1шт.

11

361006R11

VALVE

ASSY, limit stop

1шт.

12

384750R1

BOLT,Hex, 7/16" - 14 x 12 1/8"

cylinder tie

4шт.

13

354049R1

RETAINER

dust seal

1шт.

14

354048R1

WASHER,1.06" ID x 1.5" OD x 0.25" Thk

SEAL, dust piston rod

1шт.

15

383669R1

BACK-UP RING

rod seal back-up

1шт.

16

354047R1

O-RING,0.21" Thk x 1.15" ID, Cl 6

cylinder piston stop gland

1шт.

17

60794C91

HEAD

ASSY, cylinder front

1шт.

50410DA

PLUG

hydraulic cylinder front

3шт.

18

343923R1

O-RING,0.139" Thk x 2.234" ID, -228, Cl 6, 90 Duro

2-1/4 x 2-1/4 x 1/8, hydraulic cylinder

2шт.

19

361000R1

HEAD

piston

1шт.

20

9412368

NUT

3/4-16 hex, piston rod lock

1шт.

21

361013R1

BACK-UP RING,59.08mm ID x 63.75mm OD x 2.39mm Thk

piston head back-up

2шт.

22

21255R1

O-RING,2.1" ID x 2.52" OD x 0.21"

2-1/8 x 2-1/2 x 3/16

1шт.

23

377952R1

O-RING,0.103" Thk x 0.549" ID, -113, Cl 6, 90 Duro

9/46 x 3/4 x 3/32, hydraulic cylinder return tube

2шт.

24

372211R2

TUBE, hydraulic cylinder return

1шт.

25

103321

LOCK WASHER,3/8"

WASHER, LOCK, 3/8"

1шт.

26

356817R1

TUBE,2.505" ID, 2.812" OD, 10.26" Length

cylinder

1шт.

27

60791C1

HEAD

cylinder rear

1шт.

28

371218R2

BACK-UP RING,0.594" ID x 0.36" Width

return tube o-ring back-up

1шт.

29

375426R91

COLLAR

ASSY, stroke limit, includes 1-393503R1

1шт.

393503R1

THUMB SCREW,5/16" - 24 x 5/8"

thumb

1шт.

30

(Not used in this application)

1шт.

363137R94

PACKAGE

hyd cylinder o-ring service, consists of ref nos 9, 10, 13-16, 18, 21-23, 28

1шт.

Выбрано товаров: 0