Запчасти Case IH 4500 (9-102) - SLOW MOVING VEHICLE, SMV, EMBLEM, ALL MODELS (09) - CHASSIS/ATTACHMENTS

Схема запчастей Case IH 4500 - (9-102) - SLOW MOVING VEHICLE, SMV, EMBLEM, ALL MODELS (09) - CHASSIS/ATTACHMENTS
FIT
1:1
100%

Артикул

Название

Примечание

Количество

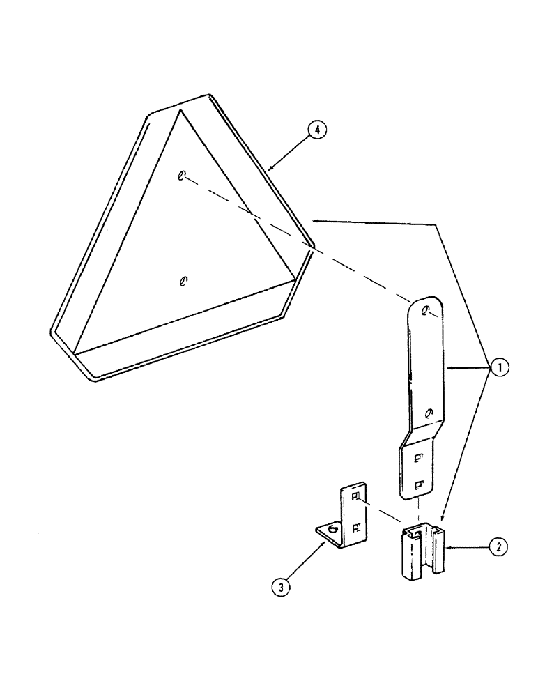
1

407220R1

PRODUCT GRAPHIC

KIT - slow moving vehicle emblem, steel (Replaces 407218R1)

1шт.

2

398976R1

BRACKET

- SMV emblem mounting

1шт.

434-512

CARRIAGE BOLT,Sht Sq Nk, 5/16" - 18 x 3/4", Gr 5

BOLT - round head square neck, 5/16 NC x 3/4 inch

2шт.

492-11031

LOCK WASHER,5/16"

WASHER, LOCK, 5/16"

2шт.

425-105

NUT,5/16"-18, G5

- hex, 5/16 inch NC

2шт.

3

811324C1

SUPPORT

BRACKET - angle

1шт.

4

321-4311

DECAL

- SMV emblem (Replaces 407263R1)

1шт.

Выбрано товаров: 0