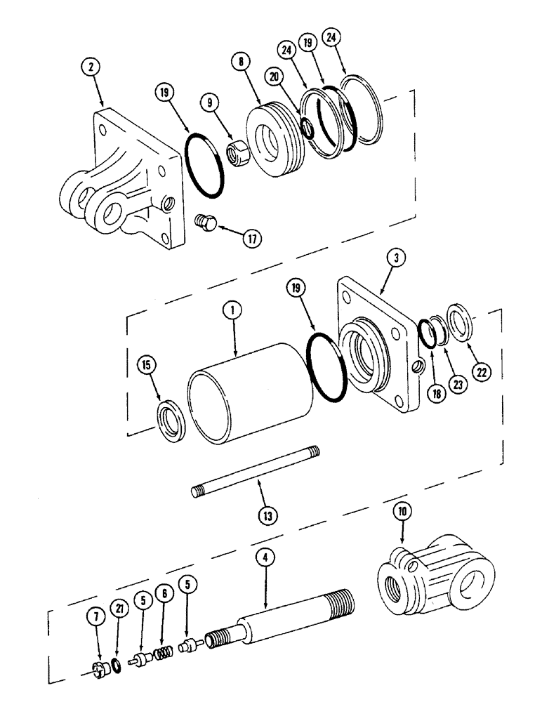
Запчасти Case IH 4500 (8-056) - HYD. CYL., W/ DUAL FRONT PORTS, 3-1/4 ID X 8 INCH STROKE, CROSS, MODELS BUILD PRIOR TO OCTOBER 1981 (08) - HYDRAULICS

Схема запчастей Case IH 4500 - (8-056) - HYD. CYL., W/ DUAL FRONT PORTS, 3-1/4 ID X 8 INCH STROKE, CROSS, MODELS BUILD PRIOR TO OCTOBER 1981 (08) - HYDRAULICS
FIT
1:1
100%

Артикул

Название

Примечание

Количество

812736C91

CYLINDER

ASSEMBLY - 3-1/4 x 8 inch stroke

1шт.

87423770R

REMAN-HYD CYLINDER

4500 CASE IH VIBRA SHANK CULTIVATOR, Reman for New P/N 812736C91

1шт.

87423770C

CORE-HYD CYLINDER

Return Number

1шт.

1

NSS

NOT SOLD SEPARAT

TUBE - cylinder

1шт.

87423770R

REMAN-HYD CYLINDER

4500 CaseIH Vibra Shank Cult., Reman For New P/N's 812736C91 & 87423770, N.A. Only

1шт.

87423770C

CORE-HYD CYLINDER

Return Number, For N.A. Only

1шт.

2

812583C1

CLEVIS

- cylinder base

1шт.

3

812598C1

END

GLAND - cylinder

1шт.

4

812603C1

ROD

- piston

1шт.

5

812604C1

VALVE

- piston rod poppet

2шт.

6

812628C1

SPRING

- poppet valve

1шт.

7

812629C1

SEAT

- poppet valve

1шт.

8

812645C1

PISTON

- cylinder

1шт.

9

75773C1

NUT

- hex, self-locking, 1 inch NF

1шт.

10

812266C1

CLEVIS

- rod end

1шт.

138244

HEX SOC SCREW,3/8" - 16 x 1 1/2"

(Not shown) Hex Soc Hd, 3/8"-16 x 1 1/2"

1шт.

425-106

NUT,3/8"-16, Cl 5

(Not shown) 3/8"-16, G5

1шт.

13

812648C1

ROD

- tie, cylinder

4шт.

425-119

NUT,Hex, 9/16"-18, G5

NF (Not shown) Hex, 9/16"-18, G5

8шт.

15

812650C1

COLLAR

- piston stop

1шт.

19355R1

LOCK PIN,3/16" x 2", Slotted

PIN, , Not shown 3/16" x 2", Slotted

1шт.

17

9410359

PLUG

- hex, 1/2 inch NF

1шт.

18

NSS

NOT SOLD SEPARAT

O-RING - 1-1/4 ID x 1/8 inch

1шт.

Part of seal kit P/N 812653C1.

1шт.

19

NSS

NOT SOLD SEPARAT

O-RING - 2-7/8 ID x 3/16 inch

3шт.

Part of seal kit P/N 812653C1.

1шт.

20

NSS

NOT SOLD SEPARAT

O-RING - 1 ID x 1/8 inch

1шт.

Part of seal kit P/N 812653C1.

1шт.

21

NSS

NOT SOLD SEPARAT

O-RING - 15/32 ID x 1/16 inch

1шт.

Part of seal kit P/N 812653C1.

1шт.

22

NSS

NOT SOLD SEPARAT

WIPER - piston rod

1шт.

Part of seal kit P/N 812653C1.

1шт.

23

NSS

NOT SOLD SEPARAT

RING - backup, piston rod O-ring

1шт.

Part of seal kit P/N 812653C1.

1шт.

24

NSS

NOT SOLD SEPARAT

RING - backup, piston O-ring

2шт.

Part of seal kit P/N 812653C1.

1шт.

812653C1

KIT

- seal, Includes: Ref. 18 - 24

1шт.

Выбрано товаров: 37