Запчасти Case IH 4500 (9-076) - WING FRAME DEPTH CONTROL, WING TYPE MODELS (09) - CHASSIS/ATTACHMENTS

Схема запчастей Case IH 4500 - (9-076) - WING FRAME DEPTH CONTROL, WING TYPE MODELS (09) - CHASSIS/ATTACHMENTS
FIT
1:1
100%

Артикул

Название

Примечание

Количество

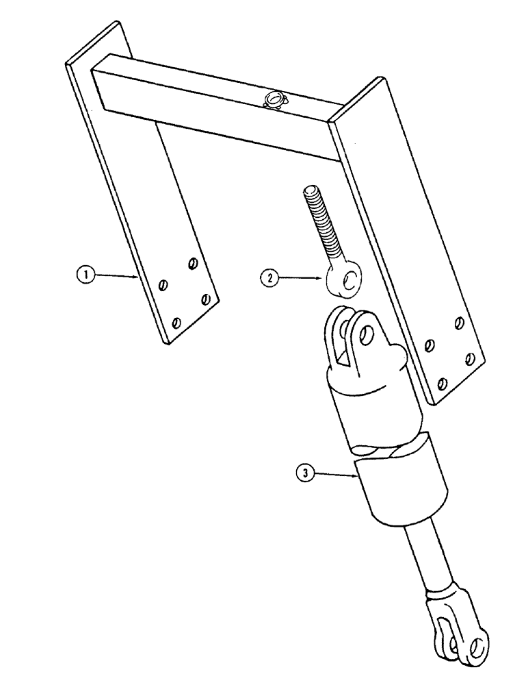
1

813483C1

SUPPORT ASSEMBLY - wing wheel cylinder, left

1шт.

413-824

BOLT,Hex, 1/2" - 13 x 1-1/2", Gr 5

8шт.

80679

LOCK WASHER,1/20.507 CST ZND

WASHER, LOCK, 1/2"

8шт.

425-108

NUT,1/2" - 13, Gr 5

NUT, , Hex 1/2"-13, G5

8шт.

1

813484C1

SUPPORT ASSYEMBLY - wing wheel cylinder, right

1шт.

413-824

BOLT,Hex, 1/2" - 13 x 1-1/2", Gr 5

8шт.

80679

LOCK WASHER,1/20.507 CST ZND

WASHER, LOCK, 1/2"

8шт.

425-108

NUT,1/2" - 13, Gr 5

NUT, , Hex 1/2"-13, G5

8шт.

2

813200C1

BOLT,7/8" - 9 x 7.50"

- eye, 7/8 NC x 7-1/2 inch

1шт.

495-81060

WASHER,23.01mm ID x 44.45mm OD x 3.4mm Thk

- flat, 29/32 x 1-3/4 x 7/64 inch

2шт.

425-1014

NUT,7/8"-9, G5

NUT, 7/8"-9, G5

2шт.

3

REF

INSTRUCTION

CYLINDER ASSEMBLY - depth control (See page 8-17, 8-19, 8-21 or 8-23)

1шт.

Выбрано товаров: 12