Запчасти Case IH 46 (E-9) - SAFETY LIGHT EQUIPMENT

Схема запчастей Case IH 46 - (E-9) - SAFETY LIGHT EQUIPMENT
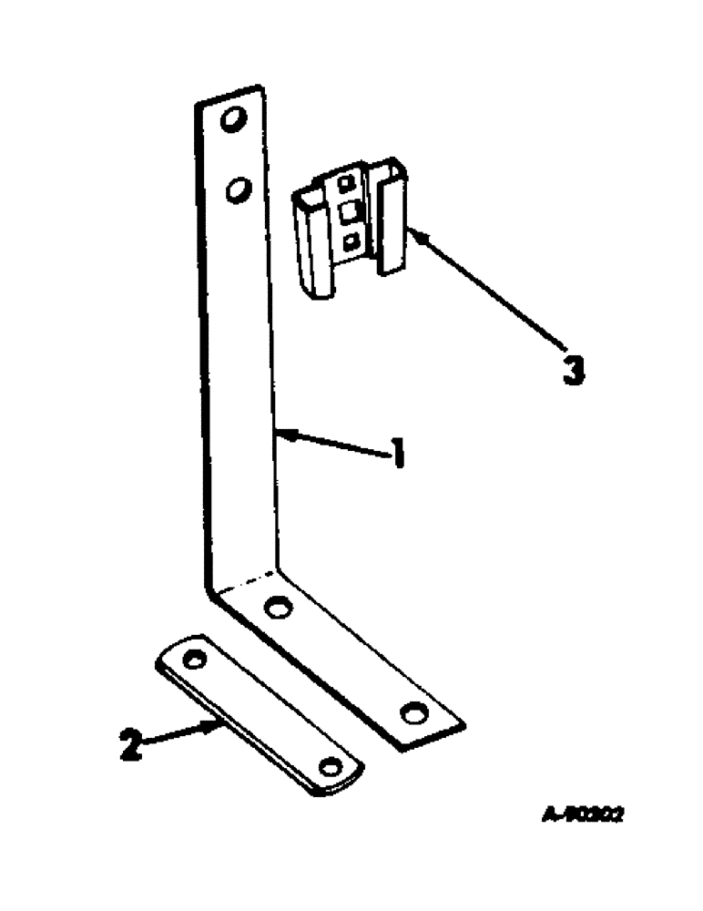
3
2
1
FIT
1:1
100%

Артикул

Название

Примечание

Количество

1

521994R3

SUPPORT, safety light

2шт.

2

521870R1

CLIP

2шт.

18814R1

BOLT,Hex, 1/2" - 13 x 4 1/2", Gr 2

1/2 x 4-1/2 znd hex-hd mach

4шт.

178373R1

WASHER

17/32 x 1 x 16 ga C-Z

4шт.

120378

NUT,Hex, 1/2" - 13, Gr 5

NUT, 1/2"-13, G5

4шт.

3

398976R1

BRACKET

SOCKET, safety light bracket, will work for 363919R1

1шт.

16897R1

CARRIAGE BOLT,Short Nk, 5/16" - 18 x 3/4", Gr 2, Full Thd

BOLT, 5/16 x 3/4 C-Z sq-nk crg

2шт.

80681

LOCK WASHER,5/16"

WASHER, LOCK, 5/16"

2шт.

120376

NUT,5/16"-18, G5

2шт.

Выбрано товаров: 0