Запчасти Case IH 4800 (9-26) - LEVEL LIFT TRACTOR HITCH, BRACES AND BEAMS, UNITS WITH CENTER HITCH TUBE (09) - CHASSIS/ATTACHMENTS

Схема запчастей Case IH 4800 - (9-26) - LEVEL LIFT TRACTOR HITCH, BRACES AND BEAMS, UNITS WITH CENTER HITCH TUBE (09) - CHASSIS/ATTACHMENTS
FIT
1:1
100%

Артикул

Название

Примечание

Количество

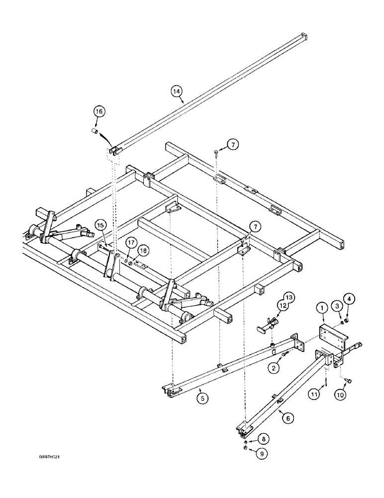
1

1284135C2

ANGLE

BRACKET - hitch connecting

1шт.

2

413-1032

BOLT,Hex, 5/8" - 11 x 2", Gr 5

- hex, 5/8 NC x 2 inch

8шт.

3

492-11062

BEARING WASHER,5/8"

WASHER, LOCK, 5/8"

8шт.

4

425-1010

NUT,5/8"-11, G5

8шт.

5

1284354C1

TUBE,2072 mm Length

BEAM - hitch, outer, left-hand

1шт.

6

1284355C1

TUBE

BEAM - hitch, outer, right-hand

1шт.

7

413-1024

BOLT,Hex, 5/8" - 11 x 1-1/2", Gr 5

12шт.

8

492-11062

BEARING WASHER,5/8"

WASHER, LOCK, 5/8"

12шт.

9

425-1010

NUT,5/8"-11, G5

12шт.

10

427-20375

CLEVIS PIN,31.75mm OD x 95.25mm L

PIN - clevis, 1-1/4 x 3-3/4 inch, hardened

2шт.

11

432-1632

COTTER PIN,1/4" x 2"

Pin, Split (Cotter), 1/4" x 2"

2шт.

12

135061C91

JACK

- side crank, Atwood manufactured, no longer used, order jack 119354C1

1шт.

13

119354C1

JACK

- side crank, Hammerblow manufactured

1шт.

14

1985908C1

TUBE

- hitch

1шт.

15

413-1288

BOLT,Hex, 3/4" - 10 x 5-1/2", Gr 5

- hex, 3/4 NC x 5-1/2 inch

1шт.

16

1985917C1

SPACER

- pipe, 3/4 ID x 3-7/16 inch

1шт.

17

495-81045

WASHER,25/32" x 1 3/4" x .179"

- flat, 25/32 x 1-3/4 x 11/64 inch

1шт.

18

232-41112

NUT,3/4"-10, GC

NUT, LOCK, 3/4"-10, GC

1шт.

Выбрано товаров: 18