Запчасти Case IH 568 (8-01) - HYDRAULIC CYLINDER AND CONNECTIONS, 4 ROW (08) - HYDRAULICS

Схема запчастей Case IH 568 - (8-01) - HYDRAULIC CYLINDER AND CONNECTIONS, 4 ROW (08) - HYDRAULICS
9
7
8
1
2
4
6
6
3
9
5
FIT
1:1
100%

Артикул

Название

Примечание

Количество

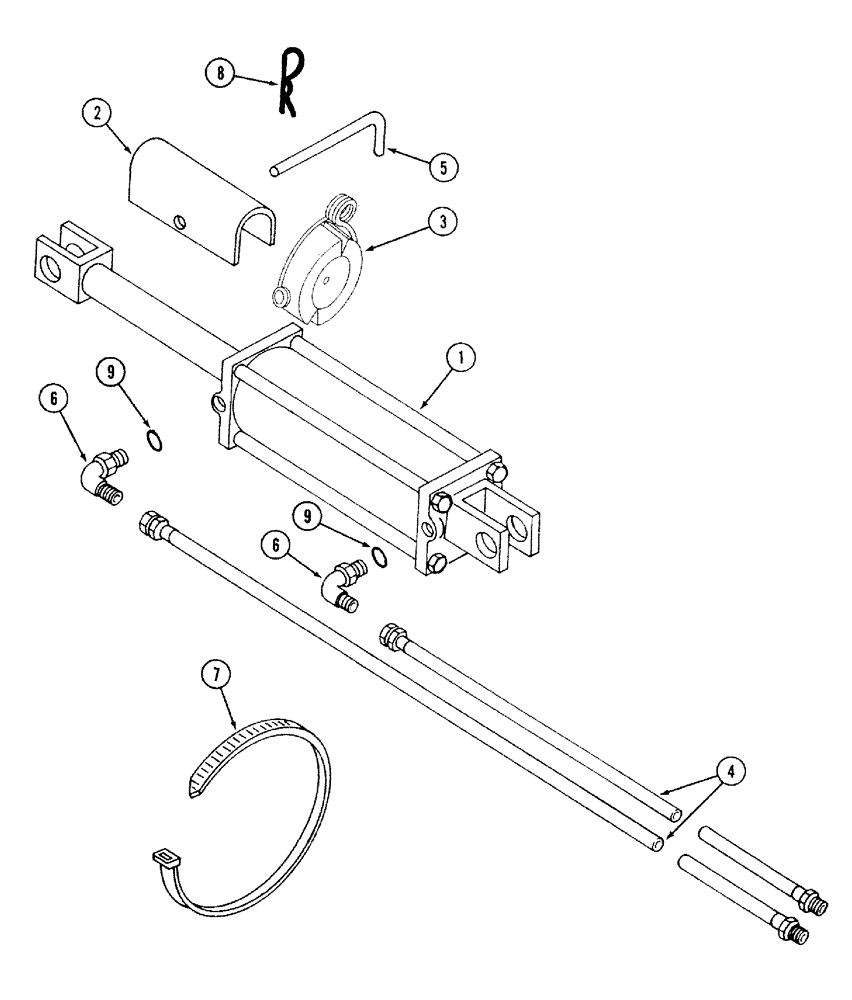
1

1272147C92

HYDRAULIC CYLINDER,Double Acting, 31.75mm Rod, 203.2mm Stroke

CYLINDER ASSEMBLY - hydraulic, 3-1/2 x 8 inch

1шт.

See Figure 08-03

1шт.

1

92916C91

CYLINDER

ASSEMBLY - hydraulic, 3-1/2 x 8 inch

1шт.

See Figure 08-03

1шт.

2

81110C1

LOCK

CHANNEL - cylinder lock

1шт.

3

104514A1

PACKAGE

KIT - hydraulic cylinder stop

1шт.

See Figure 08-05

1шт.

4

81134C1

HYDRAULIC HOSE,9.65 mm ID x 3962.40 mm, SAE 100R1

HOSE - hydraulic, 3/8 x 156 inch (For use on machines without ground working tools)

2шт.

4

81120C1

HYDRAULIC HOSE,0.38" ID x 168.00", SAE 100R1

HOSE - hydraulic, 3/8 x 168 inch (For use on machines with ground working tools)

2шт.

5

81115C1

PIN

- cylinder lock

1шт.

6

218-5106

90 ELBOW,90 Degree Elbow, 3/4" - 16 Male JIC x 3/4" - 16 Male ORB

- 90 degree, 3/4-16 inch flare x adj O-ring boss

2шт.

7

386170C1

CABLE TIE,.30" x 27 1/2"

STRAP - hose tie, nylon

3шт.

8

480523R1

HAIR PIN COTTER

9/64" dia

1шт.

9

237-6012

O-RING,0.116" Thk x 0.924" ID, -912, Cl 6, 90 Duro

12-1, 90 Duro, .924 ID x .116" Thk

2шт.

1272399C2

QUICK MALE COUPLING

COUPLER - hose, male, 7/8-14 thread poppet type

1шт.

544787R91

COUPLING, BREAK AWAY

COUPLER - hose, male, 7/8-14 thread self sealing type

1шт.

1272399C2

QUICK MALE COUPLING

COUPLING ASSEMBLY - self sealing male, 7/8-14 thread (ISO standard)

1шт.

1285718C2

QUICK MALE COUPLING

- self sealing male, 3/4-16 thread (ISO Standard)

1шт.

167269

O-RING,0.097" Thk x 0.755" ID, -910, Cl 6, 90 Duro

10-1, 90 Duro, .755" ID x .097" Thk, Used with 7/8-14 thread coupler

1шт.

237-6008

O-RING,0.087" Thk x 0.644" ID, -908, Cl 6, 90 Duro

8-1, 90 Duro, .644" ID x .087" Thk, Used with 3/4"-16 thread coupler

1шт.

407045R1

FITTING

BUSHING - reducer, 3/4-16 x 7/8-14 thread (Adapt 3/4-16 fitting to 7/8-14 coupler)

1шт.

1252129C1

ADAPTER,7/8" - 14 ORB x 3/4" - 16 ORB

BUSHING - reducer, 7/8-14 x 3/4-16 thread (Adapt 7/8-14 fitting to 3/4-16 coupler)

1шт.

Выбрано товаров: 22