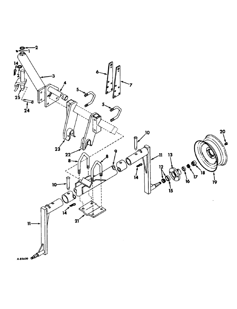
Запчасти Case IH 63-SERIES (G-05) - TRANSPORT ATTACHMENT AND ADAPTER PARTS

Схема запчастей Case IH 63-SERIES - (G-05) - TRANSPORT ATTACHMENT AND ADAPTER PARTS
21
10
13
2
25
14
16
18
17
8
4
22
11
3
1
19
15
6
5
5
9
14
7
8
11
24
20
23
2
14
10
12
FIT
1:1
100%

Артикул

Название

Примечание

Количество

1

66584D

FITTING

3/16 straight drive type lubrication

1шт.

2

483587R1

WASHER

pivot

1шт.

3

483583R91

TUBE ASSY, hitch

1шт.

.

425-1012

NUT,3/4"-10, G5

3/4 in.

4шт.

.

271612

BOLT,Hex, 3/4" - 10 x 2 1/4", Gr 5

SCREW, 3/4 x 2-1/4 in. hex-hd cap

4шт.

.

103326

LOCK WASHER,3/4"

WASHER, LOCK, 3/4"

4шт.

4

484490R91

SUPPORT ASSY, see note

1шт.

5

487247R1

U-BOLT, wheel arm, see note

1шт.

.

9849633

NUT,1"-8, G5

2шт.

6

483554R1

PLATE, attaching, not tapped

1шт.

Used only when transport attachment is used on 663 wide- row and 863 narrow-row cultivators.

1шт.

7

483553R1

PLATE, attaching, tapped

1шт.

Used only when transport attachment is used on 663 wide- row and 863 narrow-row cultivators.

1шт.

8

462402R1

BOLT

U-BOLT

1шт.

.

425-1014

NUT,7/8"-9, G5

NUT, 7/8"-9, G5

2шт.

.

103327

LOCK WASHER,7/8"

WASHER, LOCK, 7/8"

2шт.

9

483574R91

TUBE ASSY, transport

1шт.

10

486220R1

PIN

transpport tube pointed

1шт.

11

483579R91

AXLE ASSY, wheel

1шт.

12

651818R91

ROLLER BEARING,31.77 mm ID x 16.08 mm

BEARING ASSY, inner cone

1шт.

13

472220R21

HUB

W/FITTING, wheel

1шт.

.

443804

SCREW, 1/4-28 x 1/4 znp slt-ov-pt hdls set

1шт.

14

517843R1

COTTER PIN

PIN, quick-attachable cotter

1шт.

15

651817R1

BEARING CUP

CUP, inner bearing

1шт.

16

651815R91

BEARING ASSY,7.508" ID x 17.82" OD x 6"

CONE ASSY, outer bearing

1шт.

16

651815R91GV

BEARING CONE

Value, Cone Bearing

1шт.

17

651814R1

BEARING CUP

CUP, outer bearing

1шт.

18

651194R1

CAP

wheel bearing hub

1шт.

19

463036R1

WHEEL (STEERING)

WHEEL ASSY, 14 x 5J, recommended tire size 8.50 x 14, 8.00 x 14, 7.50 x 14 or 7.00 x 14

1шт.

20

351079R1

BOLT,Hex Counter Shank, 1/2" - 20 x 23/32"

conical head

4шт.

.

69442D

NUT

slt-hex

1шт.

.

103386

COTTER PIN,1/8" x 1 1/4"

Pin, Split (Cotter), 1/8" x 1 1/4"

1шт.

.

575813R1

WASHER

25/32 x 1-1/4 x 11 ga

1шт.

21

483578R1

SECTION, bracket

1шт.

22

484486R91

BRACKET ASSY, hitch left

1шт.

Used only when transport attachment is used on 663 wide- row and 863 narrow-row cultivators.

1шт.

23

484487R91

BRACKET ASSY, hitch right

1шт.

Used only when transport attachment is used on 663 wide- row and 863 narrow-row cultivators.

1шт.

24

651866R1

PIN, pointed

1шт.

25

483588R91

BRACKET ASSY, pivot

1шт.

.

13182R1

PIN, 5/16 x 2-1/2 in. self-opening cotter

1шт.

.

472221R91

SEAL,39.57mm ID x 58.6mm OD x 7.37mm Thk

wheel hub oil

2шт.

.

472222R1

SLEEVE

oil seal wear

2шт.

Выбрано товаров: 43