Запчасти Case IH 670 (AH-8) - SAFETY LIGHT EQUIPMENT

Схема запчастей Case IH 670 - (AH-8) - SAFETY LIGHT EQUIPMENT
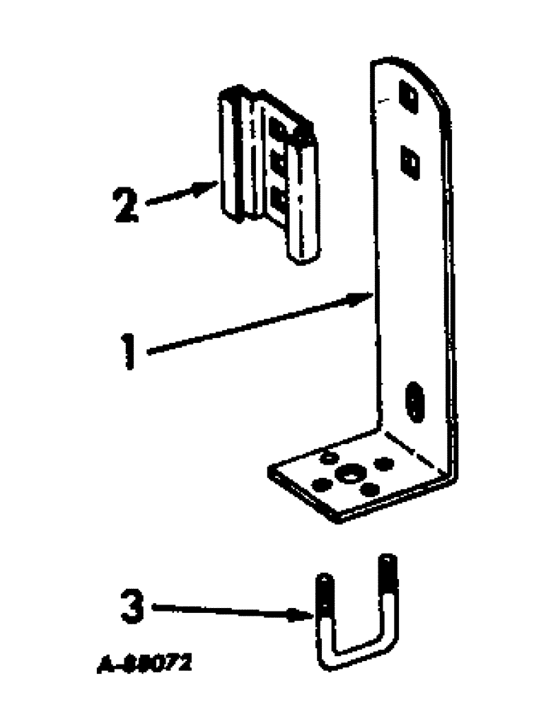
3
2
1
FIT
1:1
100%

Артикул

Название

Примечание

Количество

1

486487R1

SUPPORT TUBE

SUPPORT, safety light

2шт.

2

363919R1

SOCKET

safety light, for use with rear-mounted cultivators only

1шт.

16897R1

CARRIAGE BOLT,Short Nk, 5/16" - 18 x 3/4", Gr 2, Full Thd

BOLT, 5/16 x 3/4 in. C-Z sq-nk crg

2шт.

120376

NUT,5/16"-18, G5

2шт.

80681

LOCK WASHER,5/16"

WASHER, LOCK, 5/16"

2шт.

3

27673B

U-BOLT

2шт.

102637

NUT,1/2"-13, G5

4шт.

Выбрано товаров: 7