Запчасти Case IH 80 (B-10) - HYDRAULIC EQUIPMENT (09) - CHASSIS

Схема запчастей Case IH 80 - (B-10) - HYDRAULIC EQUIPMENT (09) - CHASSIS
13
16
6
10
16
3
4
5
15
2
16
17
3
6
4
1
7
5
2
17
2
1
10
14
8
7
8
2
17
17
16
11
12
FIT
1:1
100%

Артикул

Название

Примечание

Количество

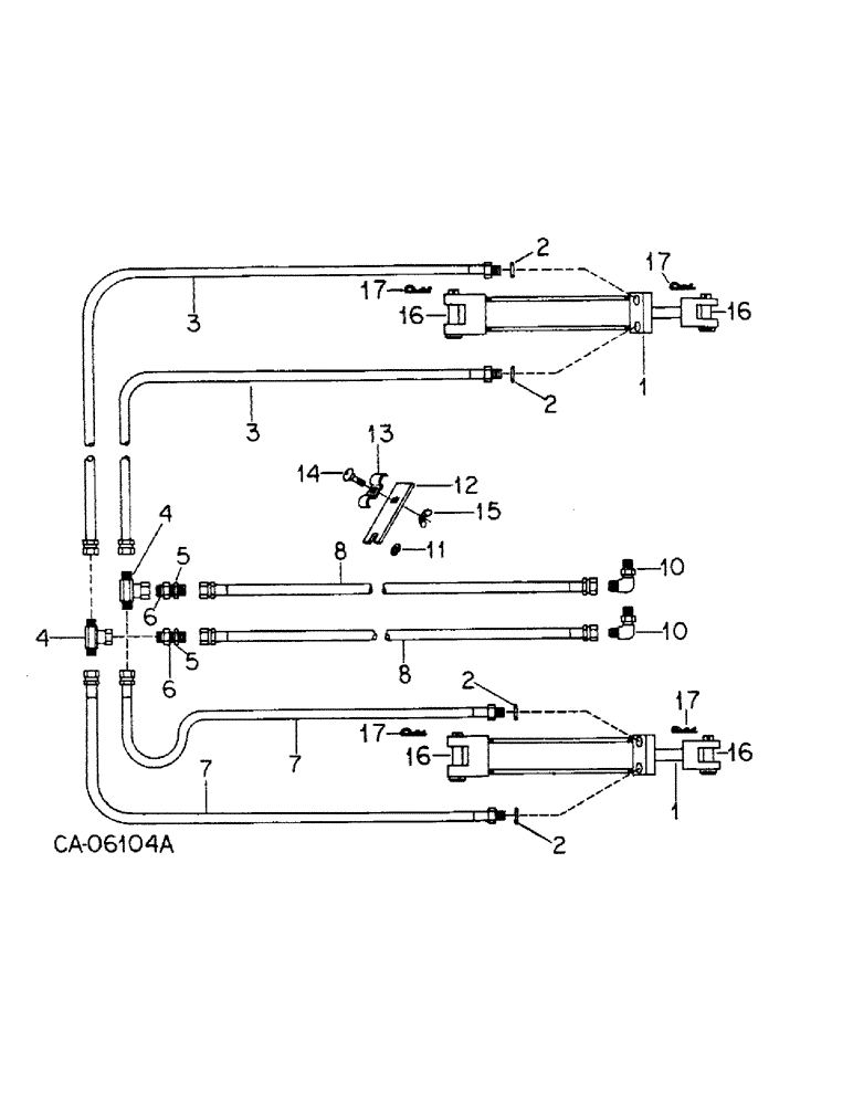
1

371291R97

CYLINDER

ASSY, 2-1/2 x 8 in. double acting hydraulic, note A

2шт.

1

363137R94

PACKAGE

hyd cylinder o-ring service, for service replacement of cylinder assy, 371291R97 order

1шт.

1

145353C91

HYDRAULIC CYLINDER

CYLINDER ASSY, 2-1/2 x 8 in. double acting hydraulic, note A

2шт.

1252129C1

ADAPTER,7/8" - 14 ORB x 3/4" - 16 ORB

ADAPTER, 7/8-14 female x 3/4-13 male o-ring boss

2шт.

570828R1

O-RING,0.087" Thk x 0.644" ID, -908, Cl 6, 90 Duro

1/2 OD tube class 6

2шт.

79975C1

SEAL KIT

KIT, cylinder o-ring and seal service, for cylinder assy, 145353C91

1шт.

2

364885R1

O-RING,0.097" Thk x 0.755" ID, -910, Cl 6, 90 Duro

3/4 x 15/16 x 3/32

4шт.

3

464046R91

HOSE ASSY.

HOSE ASSY, 7/8-14 x 75 in. hyd

2шт.

4

9410308

TEE,37 Degree, 7/8"-14 x 7/8"-14, Fem Sw Br

7/8-14 C-Z 37 deg hyd flared tube female swivel

2шт.

5

9403295

BHD LOCK NUT,Blkhd, 7/8"-14

NUT, 7/8-14 C-Z bulkhead union lock

2шт.

6

9403256

FITTING,Blkhd, 7/8"-14, 37 Degree x 7/8"-14, 37 Degree

UNION, 7/8-14 C-Z 37 deg hyd flared tube str male bulkhead

2шт.

7

541629R1

HOSE

ASSY, 7/8-14 x 140 in. hyd

2шт.

8

541631R1

HOSE ASSY.

HOSE ASSY, 7/8-14 x 140 in. hyd, replaces two 7/8-14 x 67 in. hose assy, 558209R91 and union 9402788

2шт.

9402788

UNION,7/8"-14, 37 Degree x 7/8"-14, 37 Degree

5/8 C-Z hyd flared tube, used only w/hose assy, 558209R91

2шт.

9

(Not used)

1шт.

10

9410978

ELBOW,90 Degree, 7/8"-14, 37 Degree x 7/8"-14, O-Ring

7/8-14 C-Z 37 deg hyd flared tube adj str thd 90 deg

2шт.

11

464750R1

SUPPORT

WASHER, .781 x 1.500 x 105

2шт.

12

483314R1

BAR

STRIP, hose mounting

1шт.

13

515030R1

CLAMP

hose

1шт.

14

18685R1

CARRIAGE BOLT,Short Sq Nk, 3/8" - 16 x 1 1/2", Gr 2

BOLT, 3/8-16 x 1-1/2 znd sq-nk crg

1шт.

15

126032

WING NUT,3/8"-16

NUT, 3/8-16 znd wing

1шт.

16

28543R1

CLEVIS PIN,1" x 3 1/4"

PIN, 1 x 3-1/4 znp clevis, not part of cylinder assy

4шт.

17

520175R1

CLIP

PIN, quick attachable cot, note A, see cyl, 1 for components

4шт.

Выбрано товаров: 23