Запчасти Case IH 82-SERIES (B-47) - SAFETY LIGHT EQUIPMENT

Схема запчастей Case IH 82-SERIES - (B-47) - SAFETY LIGHT EQUIPMENT
FIT
1:1
100%

Артикул

Название

Примечание

Количество

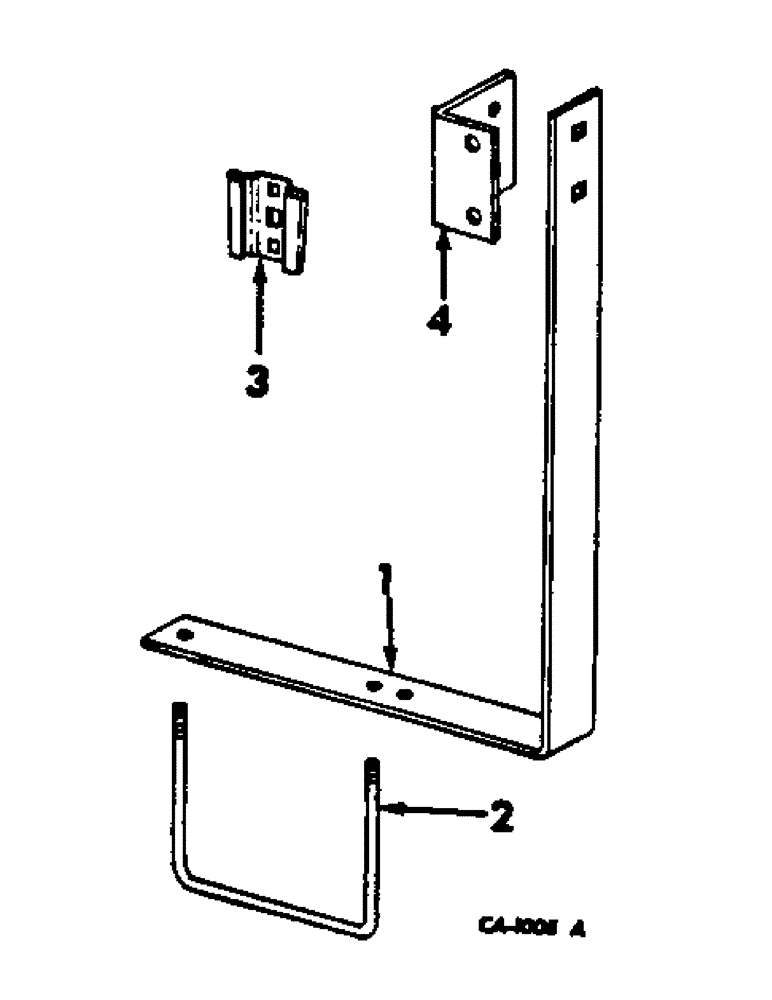
1

541658R1

SUPPORT

safety light

1шт.

2

541657R1

BOLT

U-BOLT, 3/8-16 x 7 in. long, For 6 row wide & 8 row listers, 6, 7, 8 & 9 row tool bars and middlebusters

1шт.

2

541659R1

BOLT,3/8" - 16 x 5 7/8"

U-BOLT, 3/8-16 x 6 in. long, For 4 row & 6 row narrow listers, 4 & 5 row tool bars and middlebusters

1шт.

120377

NUT,3/8" - 16, Gr 5

2шт.

3

398976R1

BRACKET

SOCKET, safety lamp bracket

1шт.

12872R1

BOLT,Short NK, 5/16"-18 x 1", G2, Full Thd

CARRIAGE, Short NK, 5/16"-18 x 1", G2, Full Thd

2шт.

80681

LOCK WASHER,5/16"

WASHER, LOCK, 5/16"

2шт.

120376

NUT,5/16"-18, G5

2шт.

4

486790R1

ANGLE

adapter, For 6 row wide & 8 row listers, 6, 7, 8 & 9 row tool bars and middlebusters

1шт.

12872R1

BOLT,Short NK, 5/16"-18 x 1", G2, Full Thd

CARRIAGE, Short NK, 5/16"-18 x 1", G2, Full Thd

2шт.

80681

LOCK WASHER,5/16"

WASHER, LOCK, 5/16"

2шт.

120376

NUT,5/16"-18, G5

2шт.

Выбрано товаров: 12