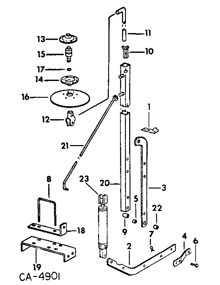
Запчасти Case IH 92 (D-07) - HYDRAULIC MARKER, 4 AND 5 ROW

Схема запчастей Case IH 92 - (D-07) - HYDRAULIC MARKER, 4 AND 5 ROW
FIT
1:1
100%

Артикул

Название

Примечание

Количество

1

NOT USED IN THIS APPLICATION

1шт.

2

541718R1

ARM

lift

2шт.

66584D

FITTING

3/16 str drive type lub

2шт.

3

541719R1

ANCHOR

cylinder

2шт.

4

541720R1

LINK, transport

2шт.

180192

BOLT (SPREADER),Hex, 1/2" - 13 x 3 1/2", Gr 5

SCREW, 1/2-13 x 3-1/2 znd hex-hd cap

2шт.

20601R1

WASHER

17/32 x 1-1/4 x 11 ga znd

2шт.

120384

WASHER,1/2"

LOCK, 1/2"

2шт.

120378

NUT,Hex, 1/2" - 13, Gr 5

NUT, 1/2"-13, G5

2шт.

5

58169C2

BUSHING

cylinder arm

2шт.

6

541722R1

PIN, pivot

2шт.

18481R1

COTTER PIN,3/16" x 1"

PIN, SPLIT (COTTER), 3/16" x 1"

2шт.

7

520175R1

CLIP

PIN, quick attachable cotter

2шт.

8

541654R1

BOLT,U, 3/4" - 10 x 168.90mm

U-BOLT, 3/4 in.

2шт.

280954

NUT,3/4"-10, G5

4шт.

9

495137R1

SPACER

BUSHING, tube

2шт.

10

489764R1

BLOCK

2шт.

20080R1

SET SCREW

1/2-13 x 1-1/4 znd sq-hd cup-pt set

2шт.

11

478033R1

ROD

marker disk clamp

2шт.

12

478032R1

CLAMP

axle

2шт.

113223C1

GUARD

disk

2шт.

180190

LOCK SCREW,Hex, 1/2" - 13 x 3", Gr 5

BOLT, 1/2 x 3 type 5

2шт.

120384

WASHER,1/2"

LOCK, 1/2"

2шт.

120378

NUT,Hex, 1/2" - 13, Gr 5

NUT, 1/2"-13, G5

2шт.

128228

SET SCREW,Sq Hd, 3/8"-16 x 3/4"

SCREW, 3/8-16 x 3/4 znd sq-hd cup-pt set

2шт.

120390

WASHER,1/2"

.562 x 1.375 x .086

2шт.

13

478035R1

BEARING HOUSING,109 mm OD x 19.3 mm

disk bearing inner

2шт.

14

478036R1

BEARING HOUSING,30.023 mm ID x 69 mm OD x 19.3 mm

disk bearing outer

2шт.

15

478034R91

BEARING ASSY,30mm OD x 82.53mm L

BEARING ASSY, ball

2шт.

16

469372R1

DISC,13"

DISK, 13 in.

2шт.

180077

BOLT,Hex, 5/16" - 18 x 3/4", Gr 5

SCREW, 5/16-18 x 3/4 znd hex-hd cap

12шт.

80681

LOCK WASHER,5/16"

WASHER, LOCK, 5/16"

12шт.

120376

NUT,5/16"-18, G5

12шт.

17

480679R1

WASHER

dirt seal felt

2шт.

18

541804R1

STRAP

marker frame

2шт.

19823R1

BOLT,Hex, 5/8" - 11 x 7", Gr 5

SCREW, 5/8-11 x 7 znd hex-hd cap

4шт.

492-11062

BEARING WASHER,5/8"

WASHER, LOCK, 5/8"

4шт.

280374

NUT,Hex, 5/8" - 11, Gr 5

5/8-11 znd hex.

4шт.

19

541715R1

PLATE, marker support RH

1шт.

19

541714R1

PLATE

marker support LH

1шт.

20

489781R2

TUBE ASSY

2шт.

180188

BOLT,Hex, 1/2" - 13 x 2 3/4", Gr 5

SCREW, 1/2-13 x 2-3/4 znd hex-hd cap

2шт.

120384

WASHER,1/2"

LOCK, 1/2"

2шт.

120378

NUT,Hex, 1/2" - 13, Gr 5

NUT, 1/2"-13, G5

2шт.

21

541716R1

ROD, truss

2шт.

21782R1

WASHER

21/32 x 1-1/2 x 16 ga

4шт.

21633R1

PIN, 3/16 x 1-1/4 znd cotter

4шт.

22

541717R1

BUSHING, marker pivot

2шт.

271725

SNAP RING,Hex, 5/8" - 11 x 2 1/2", Gr 5

SCREW, 5/8-11 x 2-1/2 znd hex-hd cap

2шт.

589068R1

WASHER

21/32 x 1-1/4 x 11 ga znd

2шт.

492-11062

BEARING WASHER,5/8"

WASHER, LOCK, 5/8"

2шт.

231-14410

NUT,5/8"-11, GB

NUT, LOCK, 5/8"-11, GB

2шт.

271723

SNAP RING,Hex, 5/8" - 11 x 2", Gr 5

SCREW, 5/8-11 x 2 znd hex-hd cap

2шт.

492-11062

BEARING WASHER,5/8"

WASHER, LOCK, 5/8"

2шт.

124589

BALL STUD,Hex, 5/8" - 11 x 2", Gr 5

5/8-11 znd hex.

2шт.

23

381832R93

CYLINDER BLOCK

CYLINDER ASSY, 2 x 8 in. single action

2шт.

Выбрано товаров: 56