Запчасти Case IH 92 (YB-07) - HYDRAULIC MARKER ATTACHMENT

Схема запчастей Case IH 92 - (YB-07) - HYDRAULIC MARKER ATTACHMENT
FIT
1:1
100%

Артикул

Название

Примечание

Количество

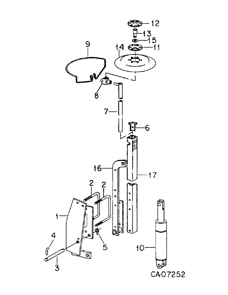
1

133979C2

BRACKET

ASSY, marker left short

1шт.

1

100235C2

BRACKET

ASSY, marker right short

1шт.

2

493837R2

U-BOLT

4шт.

280374

NUT,Hex, 5/8" - 11, Gr 5

5/8 type 5

8шт.

3

100573C1

PIN

marker pivot

2шт.

21761R1

WASHER

.906 x 1.500 x .054

2шт.

432-1620

COTTER PIN,1/4" x 1 1/4"

Pin, Split (Cotter), 1/4" x 1 1/4"

2шт.

4

471323R1

LINCH PIN

PIN, pivot lock

2шт.

5

479696R91

AXLE PIN

PIN, klik

2шт.

6

1264424C1

STOP

BLOCK

2шт.

20080R1

SET SCREW

1/2 x 1-1/4 znd sq-hd c-pt set

4шт.

7

144918C2

TUBE

ASSY, long

2шт.

8

478032R1

CLAMP

axle

2шт.

9

113223C1

GUARD

marker disk

2шт.

180190

LOCK SCREW,Hex, 1/2" - 13 x 3", Gr 5

BOLT, 1/2 x 3 type 5

2шт.

120390

WASHER,1/2"

.562 x 1.375 x .086

4шт.

474848R1

LOCK NUT,1/2"-13, GB

NUT, 1/2-13 hex lock 5

2шт.

128228

SET SCREW,Sq Hd, 3/8"-16 x 3/4"

SCREW, 3/8 x 3/4 znp sq-hd c-pt set

2шт.

10

1263405C91

CYLINDER

ASSY, 1-1/4 x 8 in. ram type, For components see list of parts under details of hydraulic cyl

4шт.

22807R1

CLEVIS PIN

PIN, 1 x 3 hd type 1

2шт.

22964R1

HEADED PIN,1" x 2 7/16"

PIN, 1 x 2.438 hd type 1

2шт.

520175R1

CLIP

PIN, q.a. cot.

4шт.

11

478035R1

BEARING HOUSING,109 mm OD x 19.3 mm

disk brg inner

2шт.

12

478036R1

BEARING HOUSING,30.023 mm ID x 69 mm OD x 19.3 mm

disk brg outer

2шт.

13

478034R91

BEARING ASSY,30mm OD x 82.53mm L

BEARING, ball

2шт.

14

469372R1

DISC,13"

DISK, 330 mm x 2.5 mm rnd hole concave

2шт.

180077

BOLT,Hex, 5/16" - 18 x 3/4", Gr 5

5/16 x 3/4 type 5

12шт.

80681

LOCK WASHER,5/16"

WASHER, LOCK, 5/16"

12шт.

120376

NUT,5/16"-18, G5

12шт.

15

480679R1

WASHER

dirt seal felt

2шт.

16

141361C1

ARM

BRACKET ASSY, LH marker

1шт.

16

141362C1

ARM

BRACKET ASSY, RH marker

1шт.

66584D

FITTING

3/16 hole less ball check L

2шт.

180191

BOLT,Hex, 1/2" - 13 x 3 1/4", Gr 5

1/2 x 3-1/4 type 5

2шт.

27463R1

CARRIAGE BOLT,Sq Nk, 1/2" - 13 x 3 3/4", Gr 5

BOLT, 1/2 x 3-3/4 crg type 5

4шт.

487374R1

BEARING LOCK NUT,Flg, USR, 1/2"-13

1/2 flange lock

6шт.

932452R1

HEAD (CYLINDER)

PIN, 1/2 x 4.250 pln hd type 5

2шт.

17

1254155C92

TUBE

W/PRODUCT GRAPHIC 1254154C1

2шт.

1264358C1

DISC,13"

DISK ASSY, marker, consists of ref nos. 11 thru 15

2шт.

Выбрано товаров: 39