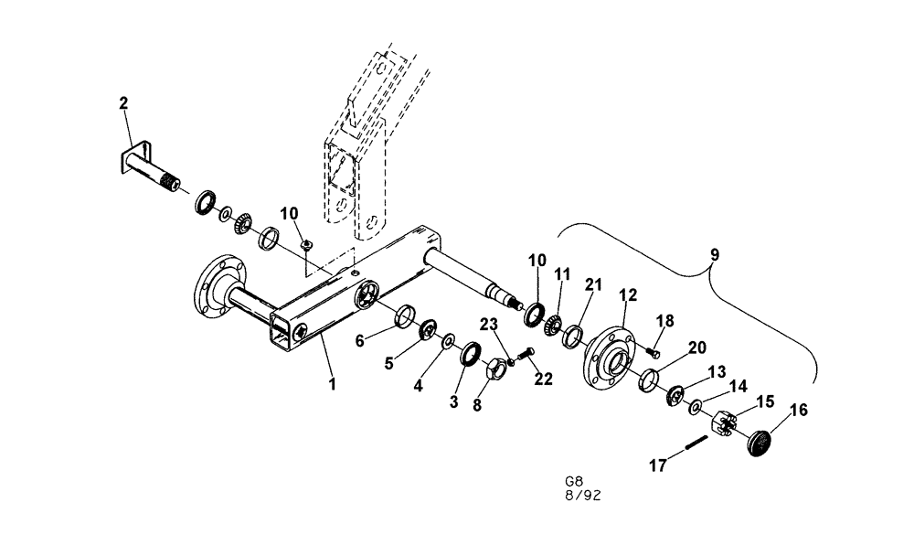
Запчасти Case IH TIGER-MATE (09-06) - 709, 783, & 888 WALKING AXLE (09) - CHASSIS/ATTACHMENTS

Схема запчастей Case IH TIGER-MATE - (09-06) - 709, 783, & 888 WALKING AXLE (09) - CHASSIS/ATTACHMENTS
15
8
5
14
10
4
21
9
17
6
13
12
10
2
16
1
18
22
11
20
3
23
FIT
1:1
100%

Артикул

Название

Примечание

Количество

1

06201500

AXLE

LH, Walking, Inc. 1 - 8, 709, Outer Frame

1шт.

1

06201600

AXLE

RH, Walking, Inc. 1 - 8, 709, Outer Frame

1шт.

1

06221450

TUBE ASSY.

LH, Walking, Inc. 1 - 8, 783, Center Frame

1шт.

1

06221400

TUBE ASSY.

RH, Walking, Inc. 1 - 8, 783, Center Frame

1шт.

1

06201200

AXLE

RH, Walking, Inc. 1 - 8, 888, Inner Frame

1шт.

1

06201300

BAR ASSY.

LH, Walking, Inc. 1 - 8, 888, Inner Frame

1шт.

2

06201400

ROD

Kit, Incl 8, 22, 23

1шт.

2

04661850

PIN

1-1/2" Pivot

1шт.

3

21932090

SEAL

2.094" Bore, CR20952

2шт.

4

06201420

SPACER

1шт.

5

21871500

ROLLER BEARING,1.5" ID x 2.56" OD x 0.71"

1.50" Bore, LM29749

1шт.

6

21882561

BEARING, CUP,1.5005" ID x 2.5635" OD x 0.71"

2.56" OD, Cup, LM29710

1шт.

8

14032409

NUT

1-1/2", NC, Hex, Jam

1шт.

9

28170900

HUB ASSY.

Q-709, 6-Bolt, 709, Outer Frame

1шт.

9

28188800

HUB ASSY.

Q-888, 6-Bolt, 888, Inner Frame

1шт.

10

21931500

OIL SEAL

1.50" ID x 2.62" OD, CR15190, 709

2шт.

10

21931630

SEAL

1.63" ID x 2.57 OD, CR16289, 888

2шт.

10

21932090

SEAL

2.094 Bore, 783

2шт.

11

21871380

BEARING CONE

1.38" Bore, LM48548, 709

2шт.

11

21871496

BEARING, CONE

1.4956" Bore, JL69349, 888

2шт.

11

160558C91

BEARING ASSY,1.5005" ID x 2.5635" OD x 0.72"

1.5 Bore Cone, 783

2шт.

12

28270900

HUB ASSY.

Q-709, With Bearing, 709, Outer Frame

2шт.

12

28288800

HUB ASSY.

Q-888, With Bearing, 888, Inner Frame

2шт.

13

21871250

ROLLER BEARING,31.77 mm ID x 16.76 mm

1.25" Bore, LM67048

2шт.

14

17014002

WASHER

7/8", Special

2шт.

15

NSS

NOT SOLD SEPARAT

Slotted Nut, 7/8"

2шт.

16

28477700

HUB CAP

2шт.

17

NSS

NOT SOLD SEPARAT

5/32" x 1-1/2" Cotter Pin

1шт.

18

16408053

SPECIAL BOLT

1/2" x 1-5/32", Lug

6шт.

19

15302005

FITTING

1/8", NPT, Self Tapping

1шт.

20

21882330

BEARING, CUP,31.77 mm ID x 59.15 mm OD x 16.08 mm

2.33" OD, Cup, LM67010

1шт.

21

21882560

BEARING, CUP

2.56" OD, LM48510, 709

1шт.

21

21882480

BEARING, CUP

2.48" OD, Cup, JL69310

1шт.

22

16806045

SET SCREW,Sq Hd, 3/8" - 16 UNC x 1"

3/8" x 1", NC, Square Head Set

1шт.

23

NSS

NOT SOLD SEPARAT

Hex Nut., NC, Jam, 3/8"

1шт.

Выбрано товаров: 35