Запчасти Case IH TIGER-MATE (09-10) - JACK (09) - CHASSIS/ATTACHMENTS

Схема запчастей Case IH TIGER-MATE - (09-10) - JACK (09) - CHASSIS/ATTACHMENTS
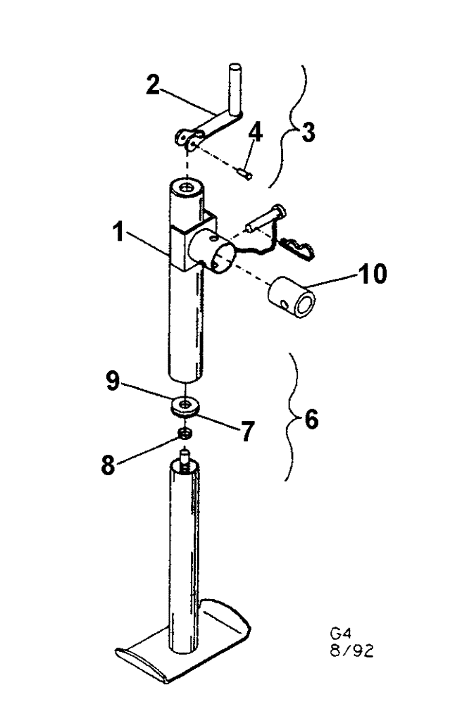
4
2
10
9
8
6
3
1
FIT
1:1
100%

Артикул

Название

Примечание

Количество

1

32252000

JACK ASSY.

5000, (For Machines W/SN #221844 & After), Start Serial: 221844

1шт.

1

32220000

JACK

Assy 2000, (For Machines W/SN #121829 & Before), Start Serial: 121829

1шт.

2

NSS

NOT SOLD SEPARAT

Jack Handle

1шт.

3

32230100

PACKAGE

Replacement, Inc. 2, 4 & 5

1шт.

4

NSS

NOT SOLD SEPARAT

Standard Bolt, 1/4" x 1"

1шт.

5

NSS

NOT SOLD SEPARAT

Lock Nut, 1/4"

1шт.

6

32230200

COULTER

Inner Ram Kit, 5000, Inc. 7 - 9

1шт.

6

32230300

REPAIR KIT

Inner Ram Kit, 3000, Inc. 7 - 9

1шт.

7

NSS

NOT SOLD SEPARAT

Thrust Washer

1шт.

8

NSS

NOT SOLD SEPARAT

Felt Washer

2шт.

9

NSS

NOT SOLD SEPARAT

Thrust Bearing

1шт.

10

09311040

TUBE,1.3" ID, 2" OD, 2.62" Length

Mounting Bracket

1шт.

Выбрано товаров: 12