Запчасти Case IH TIGERMATE II (44.100.09) - WING RIGID STABILIZER WHEEL (44) - WHEELS

Схема запчастей Case IH TIGERMATE II - (44.100.09) - WING RIGID STABILIZER WHEEL (44) - WHEELS
12
3
7
11
9
10
2
5
1
8
6
4
11
12
FIT
1:1
100%

Артикул

Название

Примечание

Количество

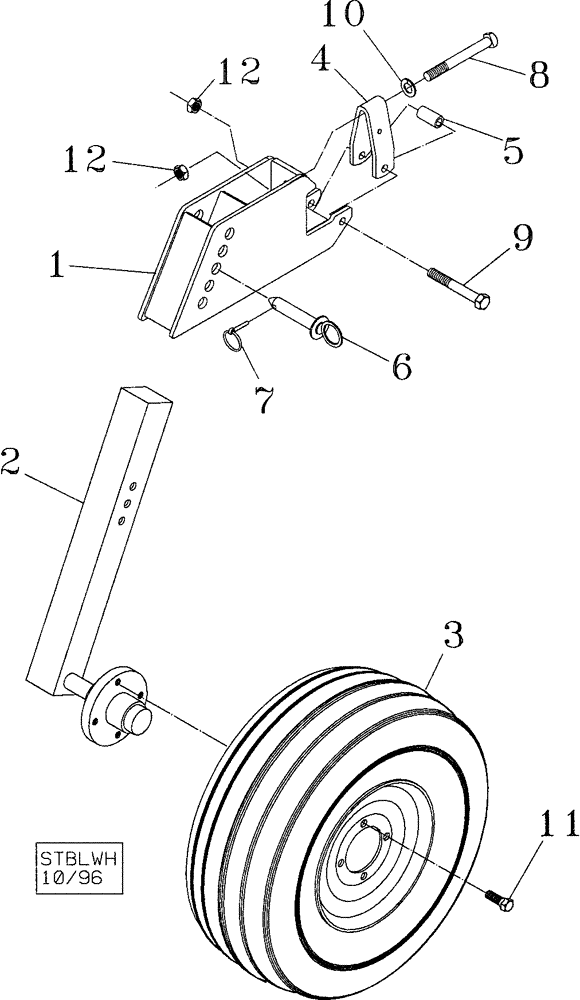
1

06400080

CHANNEL

Gauge Wheel

1шт.

2

06400090

CHANNEL

Extension With 633 Hub

1шт.

3

10060250

LAND WHEEL

5.90 - 15, With Tube, Silver

1шт.

Rim Only 10159250

1шт.

3

10060260

LAND WHEEL

5.90 - 15, Tubeless, Silver

1шт.

Rim Only 10159250

1шт.

4

06405150

CLAMP

1шт.

5

06405140

SPACER

Bushing

1шт.

6

14816348

PIN,25.4mm OD x 133.35mm L

1шт.

7

A30338

PIN

1/4 x 1.75, Klik

1шт.

8

413-10104

BOLT,Hex, 5/8" - 11 x 6-1/2", Gr 5

1шт.

9

88729

BOLT,Hex, 5/8" - 11 x 5", Gr 5

1шт.

10

495-81028

WASHER,21/32" x 1 1/2" x .240"

1шт.

11

549962R1

BOLT,1 1/2" - 20 x 1 1/2", Class 3

1/2 x 1, Wheel

4шт.

12

85700693

NUT,5/8" - 11, Gr C

2шт.

Выбрано товаров: 15