Запчасти Case IH TM255 (35.100.24) - HYDRAULICS FOLD NARROW FLOATING HITCH 37/40 FOOT (35) - HYDRAULIC SYSTEMS

Схема запчастей Case IH TM255 - (35.100.24) - HYDRAULICS FOLD NARROW FLOATING HITCH 37/40 FOOT (35) - HYDRAULIC SYSTEMS
21
20
10
16
21
13
3
30
8
23
20
24
29
9
29
5
1
17
21
26
25
25
24
6
15
25
8
7
4
7
27
20
28
22
11
3
31
20
25
7
28
9
12
2
18
19
14
3
27
8
FIT
1:1
100%

Артикул

Название

Примечание

Количество

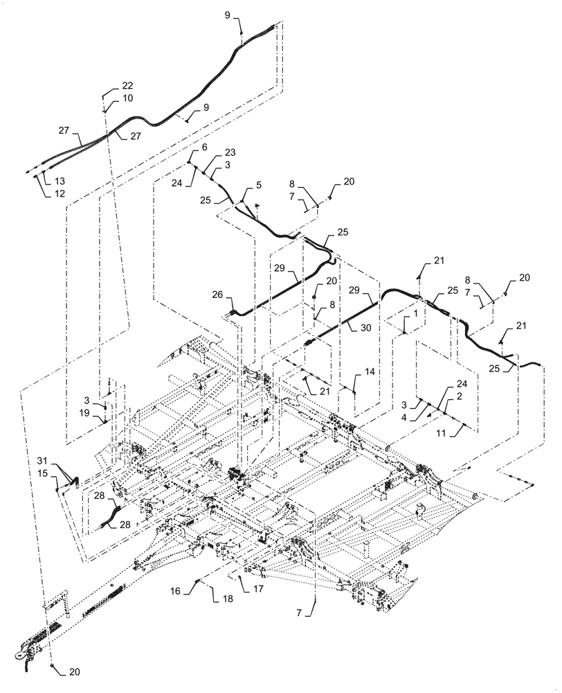
1

87331046

TEE,3/4" - 16 ORB x 9/16" - 18 JIC x 9/16" - 18 JIC

2шт.

2

86513024

TEE,3/4" - 16 ORB x 3/4" - 16 JIC x 3/4" - 16 JIC

2шт.

3

86624135

REDUCER,37 Degree, 3/4"-16, Fem x 9/16"-18 Male

8шт.

4

25405015

CONTROL VALVE

Throttle

2шт.

5

76347

ELBOW,90 Degree, 9/16" - 18 JIC x 3/4" - 16 ORB

2шт.

6

128830

90 ELBOW,3/4" - 16 JIC x 3/4" - 16 ORB

2шт.

7

88682

CARRIAGE BOLT,Short Nk, 3/8"-16 x 1", Gr 5

10шт.

8

22510700

HOSE CLAMP,15.86mm

14шт.

9

22510710

HOSE CLAMP

3/4"

6шт.

10

06200125

HOSE CLAMP

2шт.

11

86512959

45 ELBOW,45 Degree, 9/16"-18, 37 Degree x 9/16"-18, 37 Degree Fem Sw

2шт.

12

25705041

COUPLING

2шт.

13

128817

HYD CONNECTOR,3/4" - 16 ORB x 9/16" - 18 JIC

2шт.

14

86629586

90 ELBOW,9/16" - 18 JIC x 9/16" - 18 Fem Sw

1шт.

15

76344

90 ELBOW,9/16" - 18 JIC x 9/16" - 18 ORB

2шт.

16

87023161

HEADED PIN,1" x 3"

1шт.

17

86624170

WASHER,1.03" ID x 1.5" OD x 0.12" Thk

2шт.

18

3566

COTTER PIN

.250 x 2.00"

2шт.

19

128996

TEE,3/4" - 16 JIC x 3/4" - 16 JIC x 3/4" - 16 JIC

2шт.

20

88902

NUT,3/8"-16

12шт.

21

327144A1

STRAP,328mm L

5шт.

22

88444

BOLT,Hex, 3/8" - 16 x 2 3/4", Gr 5

2шт.

23

25405013

CONTROL VALVE,3/4" - 16 ORB x 3/4" - 16 JIC

2шт.

24

87698808

HYD CONNECTOR,3/4" - 16 JIC x 3/4" - 16 ORB

4шт.

25

1284367C1

HYDRAULIC HOSE,9.53mm ID x 2415mm L

4шт.

26

1284297C1

HYDRAULIC HOSE,9.52 mm ID x 2795.00 mm

1шт.

27

91162C1

HYDRAULIC HOSE,12.70 mm ID x 6730.00 mm, SAE 100R1

2шт.

28

90880C1

HYDRAULIC HOSE,12.70 mm ID x 635.00 mm, SAE 100 R17

2шт.

29

139519C2

HYDRAULIC HOSE

.375 x 135 mm

2шт.

30

1284298C1

HYDRAULIC HOSE

.375 x 160 mm

1шт.

31

1280792C1

HYDRAULIC HOSE,9.52 mm ID x 535.00 mm

2шт.

Выбрано товаров: 31