Запчасти Case IH 122 (9-22) - DISK GANGS WITH PLAIN AND ANTI-FRICTION BEARINGS (09) - CHASSIS/ATTACHMENTS

Схема запчастей Case IH 122 - (9-22) - DISK GANGS WITH PLAIN AND ANTI-FRICTION BEARINGS (09) - CHASSIS/ATTACHMENTS
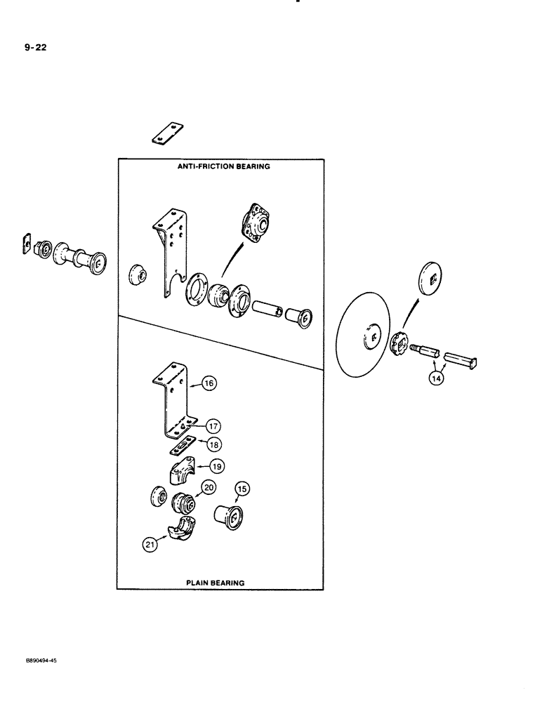
15
20
21
17
16
19
14
18
FIT
1:1
100%

Артикул

Название

Примечание

Количество

14

471017R1

BOLT,1 1/8"-7 x 26.1"

- arbor, 26-1/8 inch long (Disk Harrow coded A or B)

2шт.

(Disk Harrow coded C or D)

4шт.

14

471016R1

BOLT,1 1/8"-7 x 30.6"

- arbor, 30-5/8 inch long (Disk Harrow coded E)

4шт.

(Disk Harrow coded F)

2шт.

14

474354R1

BOLT,1 1/8"-7 x 33.8"

- arbor, 33-13/16 inch long (Disk Harrow coded F)

2шт.

(Disk Harrow coded G or H)

4шт.

14

468608R1

BOLT,1 1/8"-7 x 41.3"

- arbor, 41-5/16 inch long (Disk Harrow coded K or L)

4шт.

(Disk Harrow coded M)

2шт.

14

468607R1

BOLT,1 1/8"-7 x 39.8"

- arbor, 39-13/16 inch long (Disk Harrow coded J)

4шт.

(Disk Harrow coded M)

2шт.

129-111

NUT,1 1/8"-7, G5

- hex, 1-1/8 inch NC (One used with each arbor bolt)

1шт.

15

472593R3

SPOOL

- bearing, 3 inch long (With square center hole)

1шт.

15

101190C1

SPOOL

- bearing, 3 inch long (With round center hole) (Disk Harrow coded A, F or M)

4шт.

(Disk Harrow coded C, E or J)

8шт.

16

REF

INSTRUCTION

STANDARD - bearing, used with plain bearing (Not available for service, order anti-friction bearing and standard when replacing plain bearing standard, see items 6 through 10 and 22) (Disk Harrow coded A)

4шт.

(Disk Harrow coded C, H or L)

8шт.

17

219-1

LUBE NIPPLE,1/8" - 27 NPTF

FITTING - grease, extra short, 1/8 inch PT (Disk Harrow coded A)

4шт.

(Disk Harrow coded C, H or L)

8шт.

18

650171R2

STRUT

GASKET - bearing (Disk Harrow coded A)

4шт.

(Disk Harrow coded C, H or L)

8шт.

21216R1

BOLT - hex, 5/8 NC x 4-1/4 inch

1шт.

492-11062

BEARING WASHER,5/8"

WASHER, LOCK, 5/8"

1шт.

425-1010

NUT,5/8"-11, G5

(Disk Harrow coded A) 5/8"-11, G5

8шт.

(Disk Harrow coded C, H or L)

16шт.

19

477269R1

CAP

BEARING - upper (Disk Harrow coded A)

4шт.

(Disk Harrow coded C, H or L)

8шт.

20

477268R1

SPOOL

- bearing (Disk Harrow coded A)

4шт.

(Disk Harrow coded C, H or L)

8шт.

21

477270R1

CAP

BEARING - lower (Disk Harrow coded A)

4шт.

(Disk Harrow coded C, H or L)

8шт.

Выбрано товаров: 30