Качественные детали и логистика
Оригинальные и аналоговые запчасти с доставкой по России, Казахстану и Беларуси
©2022 PartSell ООО "Система" ИНН 2463123282 ОГРН 1212400004838
Центральный офис: г. Красноярск, Академика Киренского, д.87, пом.4
Телефон: 8 (800) 777-65-74 Email: zakaz@partsell.ru
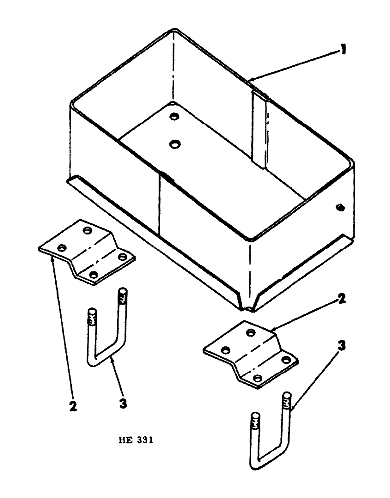
(10-09) - REAR BEAM WEIGHT BOX (SPECIAL)
№
Артикул
Название
Примечание
Количество
1
604769R91
BOX
rear beam weight
1шт.
180175
BOLT,Hex, 1/2" - 13 x 1 1/4", Gr 5
1/2 X 1-1/4" BOLT
4шт.
460908R1
WASHER
17/32 X 1-1/2 X 11 GA WASHER
120378
NUT,Hex, 1/2" - 13, Gr 5
NUT, 1/2"-13, G5
2
597022R1
BRACKET
weight box support
2шт.
3
597023R1
BOLT,U, 5/8" - 11 x 7.50"
U-BOLT, weight box support bracket
280374
NUT,Hex, 5/8" - 11, Gr 5
5/8" NUT
492-11062
BEARING WASHER,5/8"
WASHER, LOCK, 5/8"
Выбрано товаров: 0