Запчасти Case IH 300 (11-05) - WEEDER RODS, BEARING AND CHAIN

Схема запчастей Case IH 300 - (11-05) - WEEDER RODS, BEARING AND CHAIN
FIT
1:1
100%

Артикул

Название

Примечание

Количество

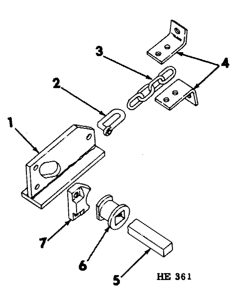
1

594743R11

BRACKET, weeder rod attaching

1шт.

2

594748R1

LOCK, chain

1шт.

3

594745R1

CHAIN, rod attaching (6 links)

1шт.

3

594746R1

CHAIN, rod attaching (41 links)

1шт.

3

594747R1

CHAIN, rod attaching (76 links)

1шт.

4

594749R1

ANGLE, attaching

2шт.

17445R11

BOLT (SPREADER)

5/16 X 1-1/4" BOLT W/NUT

2шт.

604472R1

CARRIAGE BOLT,#3, 1/2" - 13 x 2", Gr 5

1/2 X 2" CD-PLTD TYPE 2 NO. 3 PLOW BOLT

1шт.

120378

NUT,Hex, 1/2" - 13, Gr 5

NUT, 1/2"-13, G5

1шт.

469925R1

11/32 X 5/8 X 5/16" WASHER

1шт.

103320

LOCK WASHER,5/16"

WASHER, LOCK, 5/16"

2шт.

5

594699R1

BAR, weeder rod (11 ft)

1шт.

5

607452R1

BAR, weeder rod (14 ft)

1шт.

5

594700R1

BAR, weeder rod (18 ft)

1шт.

6

L3175

SPOOL

rod bearing

1шт.

7

L3174

BEARING

weeder rod

1шт.

17446R1

BOLT,3/8" - 16 x 1 1/4", Gr 2

3/8 X 1-1/4" BOLT

2шт.

114503

JAM NUT,Jam, 3/8"-16, G5

2шт.

103321

LOCK WASHER,3/8"

WASHER, LOCK, 3/8"

2шт.

Выбрано товаров: 19