Запчасти Case IH 300 (32) - GRAIN SEEDING HOPPER

Схема запчастей Case IH 300 - (32) - GRAIN SEEDING HOPPER
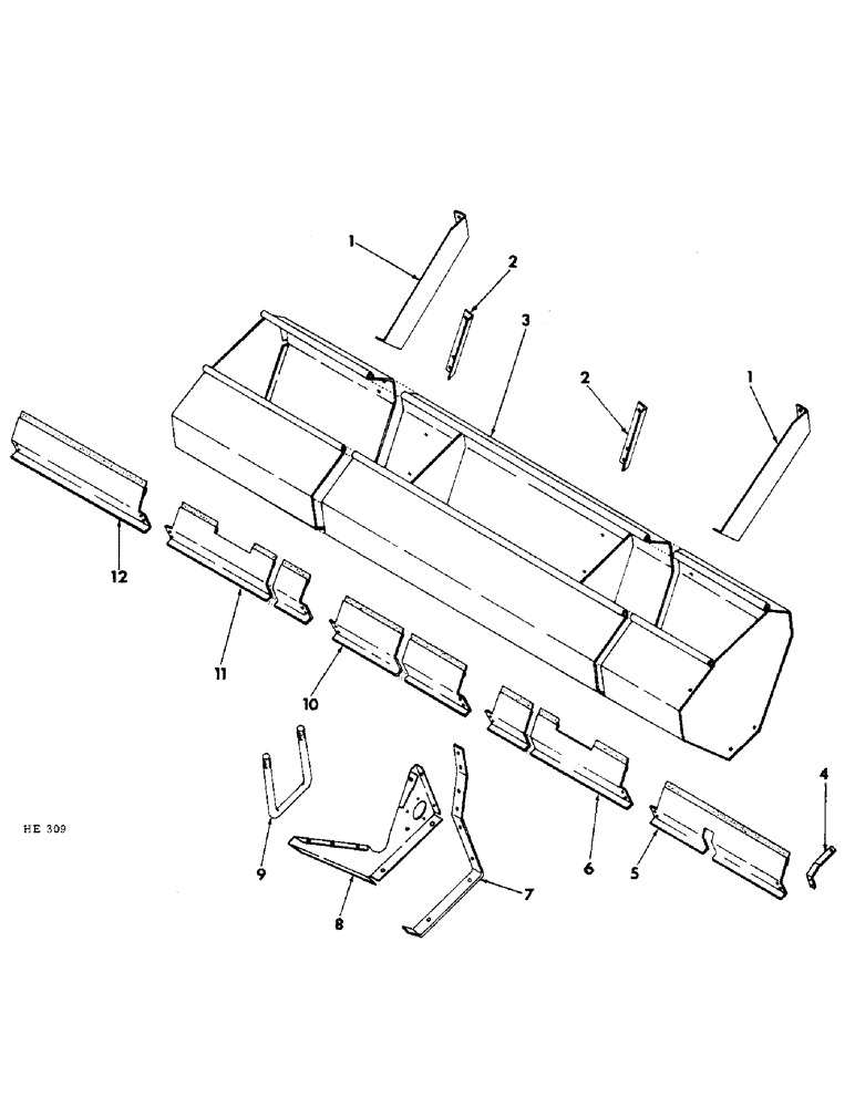
4
1
7
9
11
2
1
10
3
6
2
5
8
12
FIT
1:1
100%

Артикул

Название

Примечание

Количество

1

596898R1

REINFORCEMENT, grain hopper inner, 2 used 8 & 12 ft. machine, 4 used 16 ft. machine

1шт.

180116

BOLT,Hex, 3/8" - 16 x 1/2", Gr 5

3/8-16 x 1/2 hex hd

4шт.

120377

NUT,3/8" - 16, Gr 5

1 per bolt 3/8"-16, G5

4шт.

2

596906R1

ANGLE, hopper inner stiffener, 1 used 8 ft. machine, 2 used 12 & 16 ft. machine, Serial Range: prior-1974

1шт.

2

596906R1

ANGLE, hopper inner stiffener, 3 used 12 ft. & 16 ft. machines 1974 and since

1шт.

180116

BOLT,Hex, 3/8" - 16 x 1/2", Gr 5

/38-16 x 1/2 hex-hd, 1 per angle

1шт.

120377

NUT,3/8" - 16, Gr 5

1 per bolt 3/8"-16, G5

1шт.

120382

LOCK WASHER,Helical Spring, 3/8"

WASHER, LOCK, , 1 per bolt 3/8"

1шт.

3

596890R2

HOPPER, 16 x 7 grain, 8 ft. machine

1шт.

598809R1

CARRIAGE BOLT,Sht Sq Nk, 3/8" - 16 x 3/4", Gr 5

BOLT, 3/8-16 x 3/4 crg

8шт.

180116

BOLT,Hex, 3/8" - 16 x 1/2", Gr 5

3/8-16 x 1/2 hex-hd

8шт.

113-206

BOLT,Hex, 3/8" - 16 x 3/4", Gr 5, Full Thd

3/8-16 x 3/4 hex hd

2шт.

22828R1

WASHER,13/32" x 3/4" x .060", Sq Hole

13/32 sq hole x 3/4 x 16 ga

1шт.

120377

NUT,3/8" - 16, Gr 5

18шт.

3

596894R2

HOPPER, 24 x 7 grain, 12 ft. machine

1шт.

88574

BOLT,Hex, 5/16" - 18 x 1/2", Gr 5, Full Thd

2шт.

598809R1

CARRIAGE BOLT,Sht Sq Nk, 3/8" - 16 x 3/4", Gr 5

BOLT, 3/8-16 x 3/4 crg

6шт.

180116

BOLT,Hex, 3/8" - 16 x 1/2", Gr 5

3/8-16 x 1/2 hex-hd

8шт.

113-206

BOLT,Hex, 3/8" - 16 x 3/4", Gr 5, Full Thd

3/8-16 x 3/4 hex hd

2шт.

22828R1

WASHER,13/32" x 3/4" x .060", Sq Hole

13/32 sq hole x 3/4 x 16 ga

1шт.

120376

NUT,5/16"-18, G5

2шт.

120377

NUT,3/8" - 16, Gr 5

16шт.

120382

LOCK WASHER,Helical Spring, 3/8"

WASHER, LOCK, 3/8"

18шт.

3

596890R2

HOPPER, 16 x 7 grain, 16 ft. machine

2шт.

88574

BOLT,Hex, 5/16" - 18 x 1/2", Gr 5, Full Thd

4шт.

598809R1

CARRIAGE BOLT,Sht Sq Nk, 3/8" - 16 x 3/4", Gr 5

BOLT, 3/8-16 x 3/4 crg

16шт.

180116

BOLT,Hex, 3/8" - 16 x 1/2", Gr 5

3/8-16 x 1/2 hex-hd

19шт.

113-206

BOLT,Hex, 3/8" - 16 x 3/4", Gr 5, Full Thd

3/8-16 x 3/4 hex hd

4шт.

22828R1

WASHER,13/32" x 3/4" x .060", Sq Hole

13/32 sq hole x 3/4 x 16 ga

1шт.

120376

NUT,5/16"-18, G5

4шт.

120377

NUT,3/8" - 16, Gr 5

43шт.

80681

LOCK WASHER,5/16"

WASHER, LOCK, 5/16"

4шт.

120382

LOCK WASHER,Helical Spring, 3/8"

WASHER, LOCK, 3/8"

43шт.

4

596926R1

REINFORCEMENT, grain shield outer, 2 used 8 & 12 ft. machines, 4 used 16 ft. machine

1шт.

113-206

BOLT,Hex, 3/8" - 16 x 3/4", Gr 5, Full Thd

3/8-16 x 3/4 hex-hd, 1 per reinforcement

1шт.

120377

NUT,3/8" - 16, Gr 5

1 per bolt 3/8"-16, G5

1шт.

5

597167R1

SHIELD, feed cup outer RH 8 ft. & 12 ft. machines

1шт.

180075

BOLT,Hex, 5/16" - 18 x 5/8", Gr 5

5/16-18 x 5/8 hex-hd

4шт.

619855R1

WASHER

.344 x .750 x .054

4шт.

120376

NUT,5/16"-18, G5

4шт.

5

597167R1

SHIELD, feed cup outer RH 16 ft. machine on RH seeding hopper only

1шт.

180075

BOLT,Hex, 5/16" - 18 x 5/8", Gr 5

5/16-18 x 5/8 hex-hd

4шт.

619855R1

WASHER

.344 x .750 x .054

4шт.

120376

NUT,5/16"-18, G5

4шт.

5

597163R1

SHIELD, feed cup outer RH 16 ft. machine on LH seeding hopper only

1шт.

180075

BOLT,Hex, 5/16" - 18 x 5/8", Gr 5

5/16-18 x 5/8 hex-hd

4шт.

619855R1

WASHER

.344 x .750 x .054

4шт.

120376

NUT,5/16"-18, G5

4шт.

6

597161R1

SHIELD, feed cup inner RH, 1 used 8 ft. machine, 2 used 16 ft. machine

1шт.

180075

BOLT,Hex, 5/16" - 18 x 5/8", Gr 5

5/16-18 x 5/8 hex-hd

4шт.

619855R1

WASHER

.344 x .750 x .054

4шт.

120376

NUT,5/16"-18, G5

4шт.

6

597166R1

SHIELD, feed cup inner RH 12 ft. machine

1шт.

180075

BOLT,Hex, 5/16" - 18 x 5/8", Gr 5

5/16-18 x 5/8 hex-hd

4шт.

619855R1

WASHER

.344 x .750 x .054

4шт.

120376

NUT,5/16"-18, G5

4шт.

7

596903R1

BRACE, hopper front 3 used 8 ft. machine, 4 used 12 ft. machine, 6 used 16 ft. machine

1шт.

180122

BOLT,Hex, 3/8" - 16 x 1", Gr 5

3/8-16 x 1 hex-hd, 4 per brace

1шт.

120377

NUT,3/8" - 16, Gr 5

1 per bolt 3/8"-16, G5

1шт.

120382

LOCK WASHER,Helical Spring, 3/8"

WASHER, LOCK, , 1 per bolt 3/8"

1шт.

8

596904R1

SUPPORT, grain hopper rear 3 used 8 ft. machine, 4 used 12 ft. machine, 6 used 16 ft. machine

1шт.

180118

BOLT,Hex, 3/8" - 16 x 5/8", Gr 5

3/8-16 x 5/8 hex-hd 1 per brace

1шт.

113-206

BOLT,Hex, 3/8" - 16 x 3/4", Gr 5, Full Thd

3/8-16 x 3/4 hex-hd, 3 per brace

1шт.

180122

BOLT,Hex, 3/8" - 16 x 1", Gr 5

3/8-16 x 1 hex-hd, 3 per brace

1шт.

120377

NUT,3/8" - 16, Gr 5

1 per bolt 3/8"-16, G5

1шт.

120382

LOCK WASHER,Helical Spring, 3/8"

WASHER, LOCK, , 1 per bolt 3/8"

1шт.

9

596905R1

BOLT,U, 5/8" - 11 x 9.63"

U-BOLT, grain hopper support clamping, 3 used 8 ft. machine, 4 used 12 ft. machine, 6 used 16 ft. machine

1шт.

280374

NUT,Hex, 5/8" - 11, Gr 5

5/8-11 hex, 2 per bolt

1шт.

492-11062

BEARING WASHER,5/8"

WASHER, LOCK, , 2 per bolt 5/8"

1шт.

10

597164R1

SHIELD, feed cup center, 12 ft. machine

1шт.

180075

BOLT,Hex, 5/16" - 18 x 5/8", Gr 5

5/16-18 x 5/8 hex-hd

4шт.

619855R1

WASHER

.344 x .750 x .054

4шт.

120376

NUT,5/16"-18, G5

4шт.

11

597160R1

SHIELD, feed cup inner LH, 1 used 8 ft. machine, 2 used 16 ft. machine

1шт.

180075

BOLT,Hex, 5/16" - 18 x 5/8", Gr 5

5/16-18 x 5/8 hex-hd

4шт.

619855R1

WASHER

.344 x .750 x .054

4шт.

120376

NUT,5/16"-18, G5

4шт.

11

597165R1

SHIELD, feed cup inner LH 12 ft. machine

1шт.

180075

BOLT,Hex, 5/16" - 18 x 5/8", Gr 5

5/16-18 x 5/8 hex-hd

4шт.

619855R1

WASHER

.344 x .750 x .054

4шт.

120376

NUT,5/16"-18, G5

4шт.

12

597162R1

SHIELD, feed cup outer LH, 1 used 8 ft. & 12 ft. machine, 2 used 16 ft. machine

1шт.

180075

BOLT,Hex, 5/16" - 18 x 5/8", Gr 5

5/16-18 x 5/8 bolt

4шт.

619855R1

WASHER

.344 x .750 x .054

4шт.

120376

NUT,5/16"-18, G5

4шт.

Выбрано товаров: 85