Запчасти Case IH 310 (9-046) - LAND WHEEL GRAIN DRIVE (09) - CHASSIS/ATTACHMENTS

Схема запчастей Case IH 310 - (9-046) - LAND WHEEL GRAIN DRIVE (09) - CHASSIS/ATTACHMENTS
9
3
3
4
7
7
10
1
8
5
2
8
FIT
1:1
100%

Артикул

Название

Примечание

Количество

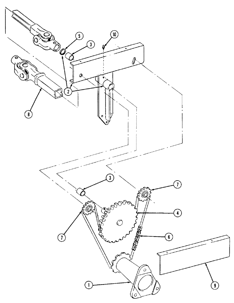
1

597971R1

SPROCKET - land wheel drive, 13 tooth

1шт.

ITEM NO. 1 PART NO. SHOULD BE 196971R1.MCK11/24

1шт.

114-411

BOLT,Hex, 1/2" - 20 x 2-1/4", Gr 5

- hex, 3/8-16 x 2-1/4 inch

3шт.

2

811565C2

SUPPORT

ASSEMBLY - land wheel drive

1шт.

413-620

BOLT,Hex, 3/8" - 16 x 1-1/4", Gr 5

- hex, 1/2 NC x 1-1/4 inch

3шт.

495-21044

WASHER,3/8"

(flat, 7/16 x 1 x 5/64 inch) 3/8"

1шт.

3

676815R1

BUSHING

- drive sprocket

2шт.

4

811500C2

SPROCKET ASSY.

SPROCKET ASSEMBLY - wheel driven, 55 tooth

1шт.

5

609836R1

WASHER

- flat, 1-1/32 x 1-3/4 x 3/64 inch

1шт.

6

NSS

NOT SOLD SEPARAT

CHAIN ASSEMBLY - (Use 63 links of 1-1/4 inch roller chain from a 10 foot roll marked 569089R91 and one connecting link 456980R91)

1шт.

7

811520C91

SPROCKET ASSY.

SPROCKET - land wheel drive chain

2шт.

413-832

BOLT,Hex, 1/2" - 13 x 2", Gr 5

2шт.

425-108

NUT,1/2" - 13, Gr 5

NUT, , Hex 1/2"-13, G5

2шт.

80679

LOCK WASHER,1/20.507 CST ZND

WASHER, LOCK, 1/2"

2шт.

20601R1

WASHER

- flat, 17/32 x 1-1/4 x 7/64 inch

1шт.

8

REF

INSTRUCTION

JOINT ASSEMBLY - wheel drive universal, (For service parts refer to land wheel drive universal, See Page 9-51)

1шт.

379990R1

HEADED PIN

PIN - headed, 3/8 x 2 inch

2шт.

432-812

COTTER PIN,3/4" OAL x 1/8" W

PIN, SPLIT (COTTER), 1/8" x 3/4"

2шт.

9

811548C1

ANGLE

- idler shield

1шт.

413-412

BOLT,Hex, 1/4" - 20 x 3/4", Gr 5

- hex, 1/4 NC x 3/4 inch

2шт.

425-104

NUT,1/4"-20, Cl 5

- hex, 1/4 inch NC

2шт.

80682

LOCK WASHER,1/4"

Washer, Lock, 1/4"

2шт.

10

109461

LUBE NIPPLE,1/8"-27 x .66 lg

NIPPLE, LUBE, , PTF 1/8"-27 x .66 lg

1шт.

Выбрано товаров: 23