Запчасти Case IH 370 (9-36) - FRONT AND REAR GANGS AND GANG BARS (09) - CHASSIS/ATTACHMENTS

Схема запчастей Case IH 370 - (9-36) - FRONT AND REAR GANGS AND GANG BARS (09) - CHASSIS/ATTACHMENTS
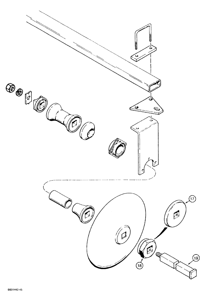
18
19
17
FIT
1:1
100%

Артикул

Название

Примечание

Количество

17

468584R2

SQ HOLE WASHER

WASHER - bumper, front gangs

2шт.

18

466950R2

WASHER

WASHER - arbor bolt, rear gangs with furrow filler (All Disk Harrows except those coded U, V and W)

2шт.

18

100696C1

WASHER

WASHER - arbor bolt, rear gangs with furrow filler (Disk Harrows coded U, V and W)

2шт.

19

468608R1

BOLT,1 1/8"-7 x 41.3"

BOLT - arbor, 1-1/8 NC x 41-5/16 inch (Disk Harrow coded P)

4шт.

19

468608R1

BOLT,1 1/8"-7 x 41.3"

BOLT - arbor, 1-1/8 NC x 41-5/16 inch (Disk Harrow coded Q)

2шт.

19

651920R1

BOLT,Rnd Cor Sq Hd, 1 1/8" - 7 x 45.6"

BOLT - arbor, 1-1/8 NC x 45-5/8 inch (Disk Harrow coded A)

4шт.

19

651920R1

BOLT,Rnd Cor Sq Hd, 1 1/8" - 7 x 45.6"

BOLT - arbor, 1-1/8 NC x 45-5/8 inch (Disk Harrow coded D)

2шт.

19

471014R1

BOLT,1 1/8"-7 x 48.8"

BOLT - arbor, 1-1/8 NC x 48-13/16 inch (Disk Harrow coded B)

4шт.

19

471014R1

BOLT,1 1/8"-7 x 48.8"

BOLT - arbor, 1-1/8 NC x 48-13/16 inch (Disk Harrow coded R)

4шт.

19

471014R1

BOLT,1 1/8"-7 x 48.8"

BOLT - arbor, 1-1/8 NC x 48-13/16 inch (Disk Harrow coded Q)

2шт.

19

651921R1

BOLT,Rnd Cor Sq Hd, 1 1/8" - 7 x 52.6"

BOLT - arbor, 1-1/8 NC x 52-5/8 inch (Disk Harrow coded C)

4шт.

19

651921R1

BOLT,Rnd Cor Sq Hd, 1 1/8" - 7 x 52.6"

BOLT - arbor, 1-1/8 NC x 52-5/8 inch (Disk Harrow coded G)

2шт.

19

471013R1

BOLT,1 1/8"-7 x 56.3"

BOLT - arbor, 1-1/8 NC x 56-5/16 inch (Disk Harrow coded S)

2шт.

19

471013R1

BOLT,1 1/8"-7 x 56.3"

BOLT - arbor, 1-1/8 NC x 56-5/16 inch (Disk Harrow coded T)

4шт.

19

471015R1

BOLT,1 1/8"-7 x 57.8"

BOLT - arbor, 1-1/8 NC x 57-13/16 inch (Disk Harrow coded D)

2шт.

19

471015R1

BOLT,1 1/8"-7 x 57.8"

BOLT - arbor, 1-1/8 NC x 57-13/16 inch (Disk Harrow coded E)

4шт.

19

471015R1

BOLT,1 1/8"-7 x 57.8"

BOLT - arbor, 1-1/8 NC x 57-13/16 inch (Disk Harrow coded S)

2шт.

19

651922R2

BOLT,Rnd Cor Sq Hd, 1 1/8" - 7 x 60.4"

BOLT - arbor, 1-1/8 NC x 60-7/16 inch (Disk Harrow coded F)

4шт.

19

651922R2

BOLT,Rnd Cor Sq Hd, 1 1/8" - 7 x 60.4"

BOLT - arbor, 1-1/8 NC x 60-7/16 inch (Disk Harrow coded K)

2шт.

19

472585R2

BOLT,1 1/8"-7 x 64.4"

BOLT - arbor, 1-1/8 NC x 64-7/16 inch (Disk Harrow coded U)

4шт.

19

652939R2

BOLT,Rnd Cor Sq Hd, 1 1/8" - 7 x 67.4"

BOLT - arbor, 67.4 inch (Disk Harrow coded G)

2шт.

19

652939R2

BOLT,Rnd Cor Sq Hd, 1 1/8" - 7 x 67.4"

BOLT - arbor, 67.4 inch (Disk Harrow coded H)

4шт.

19

652939R2

BOLT,Rnd Cor Sq Hd, 1 1/8" - 7 x 67.4"

BOLT - arbor, 67.4 inch (Disk Harrow coded J)

4шт.

19

472586R2

BOLT,1 1/8"-7 x 71.9"

BOLT - arbor, 1-1/8 NC x 71-15/16 inch (Disk Harrow coded V)

4шт.

19

651923R1

BOLT

BOLT - arbor, 1-1/8 NC x 74-7/16 inch (Disk Harrow coded L)

4шт.

19

468582R2

BOLT (SPREADER),1 1/8"-7 x 76.7"

BOLT - arbor, 1-1/8 NC x 76-7/16 inch (Disk Harrow coded K)

2шт.

19

468582R2

BOLT (SPREADER),1 1/8"-7 x 76.7"

BOLT - arbor, 1-1/8 NC x 76-7/16 inch (Disk Harrow coded M)

4шт.

19

468583R2

BOLT (SPREADER),1 1/8"-7 x 79.4"

BOLT - arbor, 1-1/8 NC x 79-7/16 inch (Disk Harrow coded W)

4шт.

19

652359R2

BOLT,Rnd Cor Sq Hd, 1 1/8" - 7 x 81.4"

BOLT - arbor, 1-1/8 NC x 81-7/16 inch (Disk Harrow coded N)

4шт.

Выбрано товаров: 29