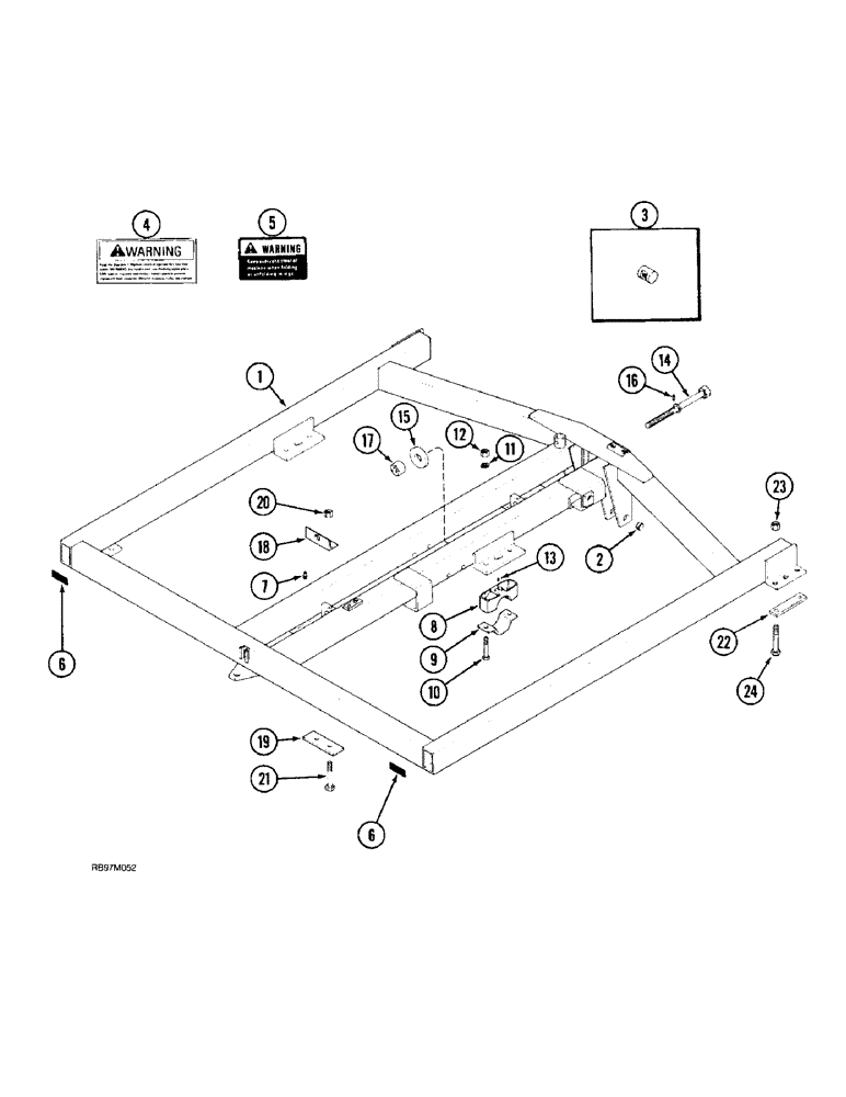
Запчасти Case IH 3850 (39.100.01) - MAIN FRAME (09) - CHASSIS/ATTACHMENTS

Схема запчастей Case IH 3850 - (39.100.01) - MAIN FRAME (09) - CHASSIS/ATTACHMENTS
4
24
20
16
6
7
22
18
11
2
8
6
9
3
14
15
5
23
1
10
13
12
17
21
19
FIT
1:1
100%

Артикул

Название

Примечание

Количество

1

95850C5

FRAME ASSY

FRAME ASSEMBLY - main

1шт.

2

1268053C1

BUSHING,38.1mm ID x 44.45mm OD x 19.05mm L

BUSHING - pivot

4шт.

3

60147C3

LINK

SWIVEL - crank

1шт.

4

220321A1

WARNING DECAL

DECAL - Warning, read the operator's manual, English

1шт.

5

59051C3

WARNING DECAL

DECAL - Warning, keep everyone clear of machine when folding or unfolding wings

1шт.

6

1284374C1

REFLECTOR,Reflector Red

REFLECTOR - red

2шт.

7

219-87

LUBE NIPPLE,1/4" - 28 NPTF

2шт.

8

1263593C1

SUPPORT

BEARING - axle

4шт.

9

540979R1

BEARING CAP,3"

CAP - bearing

4шт.

10

413-1280

BOLT,Hex, 3/4" - 10 x 5", Gr 5

8шт.

11

492-11075

LOCK WASHER,3/4"

8шт.

12

425-1012

NUT,3/4"-10, G5

8шт.

13

219-87

LUBE NIPPLE,1/4" - 28 NPTF

4шт.

14

95857C2

ROD

BOLT - gang angle adjusting

2шт.

15

495-82234

WASHER,32.54mm ID x 50.8mm OD x 6.1mm Thk

4шт.

16

438-32432

PIN,9.53mm OD x 50.8mm L

4шт.

17

1980751C1

NUT

Hex, 1-1/4 inch

2шт.

18

97726C1

ANGLE

Upper

2шт.

19

97725C1

PLATE

PLATE - lower

2шт.

20

280375

NUT,3/4"-10, GC

4шт.

21

413-1284

BOLT,Hex, 3/4" - 10 x 5-1/4", Gr 5

4шт.

22

252474A1

BAR

Gang mounting

4шт.

23

280375

NUT,3/4"-10, GC

8шт.

24

413-1280

BOLT,Hex, 3/4" - 10 x 5", Gr 5

8шт.

Выбрано товаров: 24