Запчасти Case IH 485 (8-05) - DIVERSION VALVE AND LINKAGE (08) - HYDRAULICS

Схема запчастей Case IH 485 - (8-05) - DIVERSION VALVE AND LINKAGE (08) - HYDRAULICS
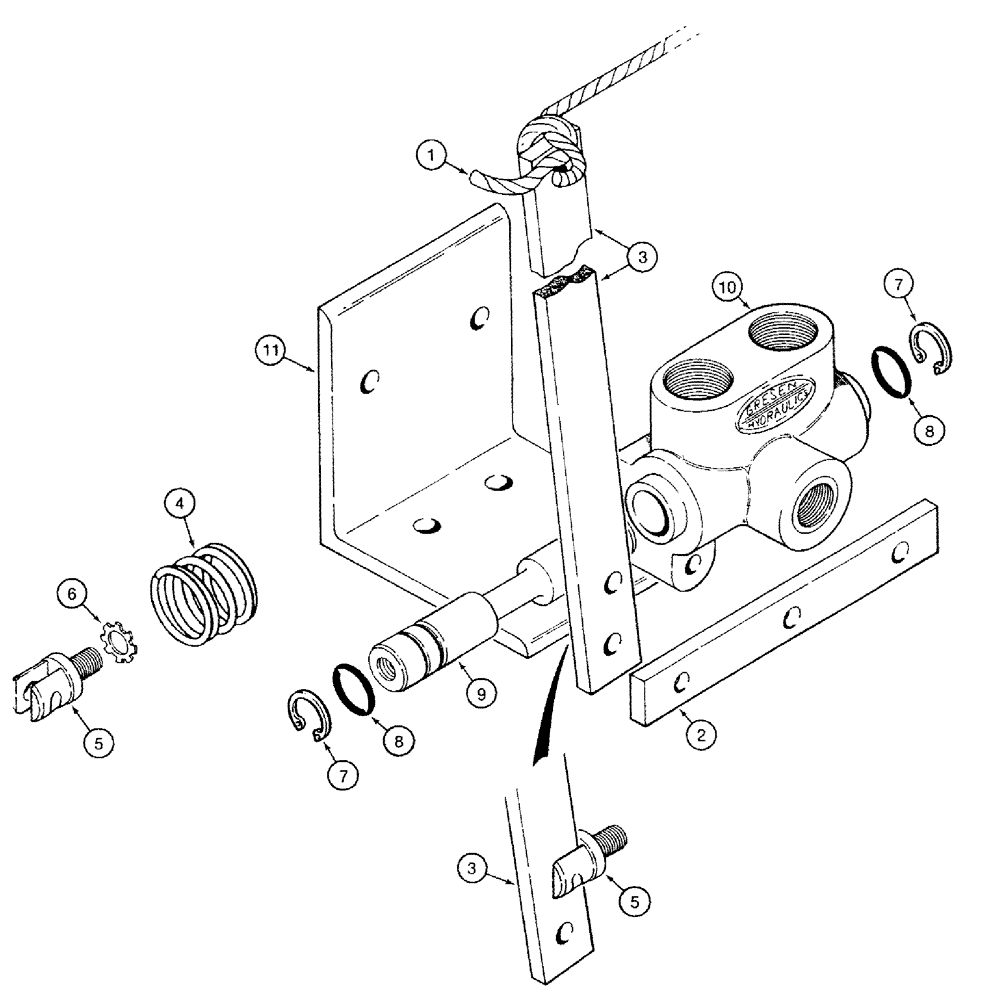
1
8
11
6
8
7
2
3
7
10
4
5
3
9
5
FIT
1:1
100%

Артикул

Название

Примечание

Количество

1

REF

INSTRUCTION

ROPE - 1/4 inch x 12 foot, purchase locally

1шт.

2

57068C1

BAR

- lever pivot

1шт.

413-536

BOLT,Hex, 5/16" - 18 x 2-1/4", Gr 5

- hex, 5/16 NC x 2-1/4 inch

2шт.

492-11031

LOCK WASHER,5/16"

WASHER, LOCK, 5/16"

2шт.

425-105

NUT,5/16"-18, G5

- hex, 5/16 inch NC

2шт.

3

57069C1

BAR

LEVER - valve

1шт.

413-620

BOLT,Hex, 3/8" - 16 x 1-1/4", Gr 5

- hex, 3/8 NC x 1-1/4 inch

1шт.

495-21038

WASHER,5/16"

(flat, 13/32 x 7/8 x 1/16") 5/16"

1шт.

131-217

LOCK NUT

NUT - hex, lock, 3/8 inch NC

1шт.

439-1416

HEADED PIN,1/4" x 1"

PIN - clevis, 1/4 x 1 inch

1шт.

432-816

COTTER PIN,1/8" x 1"

1/8" x 1"

1шт.

4

369462R1

SPRING

- valve lever

1шт.

495-81143

WASHER,13/32" x 1 1/2" x .120"

1шт.

478887R91

VALVE

ASSEMBLY - diversion, Inc. REF 5 - 11

1шт.

5

D23694

ADAPTER

CLEVIS - valve spool

1шт.

6

493-41039

LOCK WASHER,Ext Tooth, 3/8"

WASHER, LOCK, Ext Tooth, 3/8"

1шт.

7

100-1375

SNAP RING,#75, Ext

Ring, Snap, , Valve spool #75, Ext

2шт.

8

A64436

O-RING,0.549" ID x 0.755" OD

- 9/16 x 3/4 x 3/32 inch, spool seal

2шт.

9

NSS

NOT SOLD SEPARAT

SPOOL - diversion valve

1шт.

10

NSS

NOT SOLD SEPARAT

BODY - diversion valve

1шт.

11

62010C1

ANGLE

BRACKET - valve mounting

1шт.

113-208

BOLT,Hex, 3/8" - 16 x 1-1/4", Gr 5

2шт.

492-11038

LOCK WASHER,3/8"

2шт.

9628503

NUT,3/8"-16, G5

2шт.

Выбрано товаров: 24