Запчасти Case IH 485 (9-09) - CENTER SHANK ATTACHMENT, 6 INCH SWEEP (09) - CHASSIS/ATTACHMENTS

Схема запчастей Case IH 485 - (9-09) - CENTER SHANK ATTACHMENT, 6 INCH SWEEP (09) - CHASSIS/ATTACHMENTS
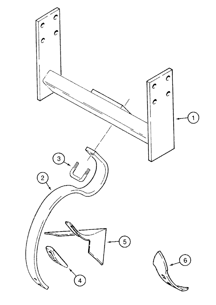
4
5
3
2
6
1
FIT
1:1
100%

Артикул

Название

Примечание

Количество

1

112415C1

BRACKET

SUPPORT - shank

1шт.

413-1228

BOLT,Hex, 3/4" - 10 x 1-3/4", Gr 5

- hex, 3/4 NC x 1-3/4 inch

4шт.

492-11075

LOCK WASHER,3/4"

3/4"

4шт.

425-1012

NUT,3/4"-10, G5

- hex, 3/4 inch NC

4шт.

2

542564R1

TOOTH

SHANK - center

1шт.

413-824

BOLT,Hex, 1/2" - 13 x 1-1/2", Gr 5

1 used per shank Hex, 1/2"-13 x 1 1/2", G5, Full Thd

1шт.

231-4118

LOCK NUT,1/2"-13, GB

NUT - hex, self-locking, 1/2 inch NC, 1 used per shank

1шт.

3

543439R1

BOLT (SPREADER),U, 1/2" - 13 x 1.60"

U-BOLT - shank retaining, 1 used per shank

1шт.

80679

LOCK WASHER,1/20.507 CST ZND

WASHER, LOCK, , 2 used per shank 1/2"

1шт.

425-108

NUT,1/2" - 13, Gr 5

NUT, , Hex, 2 used per shank 1/2"-13, G5

1шт.

4

466868R1

WEDGE

- sweep adjusting

1шт.

5

479005R2

SWEEP

- 6 inch, universal

1шт.

25596BB

BOLT,7/16" - 14 x 2"

- special, 1 used per sweep

1шт.

86508778

CARRIAGE BOLT,Sq Nk, 7/16" - 14 x 1 3/4", Gr 5

BOLT, CARRIAGE, Short NK, 7/16"-14 x 1-3/4", G5, 1 used per sweep

1шт.

492-11044

LOCK WASHER,7/16"

WASHER, LOCK, , 2 used per sweep 7/16"

1шт.

280717

NUT,7/16"-14, G5

2 used per sweep 7/16"-14, G5

1шт.

6

547188R2

POINT

- reversible spring, if used

1шт.

26538R1

CARRIAGE BOLT,#3, 3/8" - 16 x 1 1/2", Gr 8

BOLT - flat head, square neck, 3/8 NC x 1-1/2 inch

2шт.

492-11038

LOCK WASHER,3/8"

2шт.

9628503

NUT,3/8"-16, G5

2шт.

Выбрано товаров: 20