Запчасти Case IH 496 (9-50) - CENTER TOOTH (09) - CHASSIS/ATTACHMENTS

Схема запчастей Case IH 496 - (9-50) - CENTER TOOTH (09) - CHASSIS/ATTACHMENTS
FIT
1:1
100%

Артикул

Название

Примечание

Количество

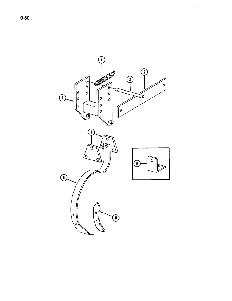
1

129721C1

SUPPORT

- center tooth mounting

1шт.

2

147514C1

BAR

PLATE - center tooth mounting

2шт.

413-1232

BOLT,Hex, 3/4" - 10 x 2", Gr 5

- hex, 3/4 NC x 2 inch

3шт.

413-1248

BOLT,Hex, 3/4" - 10 x 3", Gr 5

- hex, 3/4 NC x 3 inch

1шт.

492-11075

LOCK WASHER,3/4"

3/4"

4шт.

425-1012

NUT,3/4"-10, G5

- hex, 3/4 inch NC

4шт.

9413971

LOCK NUT,3/4"-10, GB

NUT - hex prevailing torque lock, 3/4 inch NC

1шт.

413-1232

BOLT,Hex, 3/4" - 10 x 2", Gr 5

- hex, 3/4 NC x 2 inch

2шт.

495-11081

WASHER,3/4", SAE

2шт.

9413971

LOCK NUT,3/4"-10, GB

NUT - hex prevailing torque lock, 3/4 inch NC

2шт.

3

147513C1

PIN

- spring retaining

1шт.

495-11081

WASHER,3/4", SAE

2шт.

432-1624

COTTER PIN,1/4" x 1 1/2"

Pin, Split (Cotter), 1/4" x 1-1/2"

2шт.

4

524660R1

VALVE SPRING

SPRING - center tooth tension

1шт.

5

63203C1

TOOTH

- spring, 7/16 inch thick

1шт.

5

97536C1

SPRING

TOOTH - spring, 9/16 inch thick

1шт.

6

74018C1

CLAMP

- tooth (Used with 63203C1 tooth)

1шт.

86505993

BOLT,Hex, 1/2" - 13 x 4", Gr 5

1шт.

457390R1

LOCK NUT,1/2"-13, GA

NUT - hex lock, 1/2 inch NC, Grade 1

1шт.

7

91256C1

LARGE PLATE

PLATE - clamp (Used with 97536C1 tooth)

2шт.

413-880

BOLT,Hex, 1/2" - 13 x 5", Gr 5

- hex, 1/2 NC x 5 inch

3шт.

457390R1

LOCK NUT,1/2"-13, GA

NUT - hex lock, 1/2 inch NC, Grade 1

3шт.

8

547188R1

POINT

- reversible spring

1шт.

26538R1

CARRIAGE BOLT,#3, 3/8" - 16 x 1 1/2", Gr 8

BOLT - flat head square neck, 3/8 NC x 1-1/2 inch

2шт.

492-11038

LOCK WASHER,3/8"

2шт.

425-106

NUT,3/8"-16, Cl 5

2шт.

Выбрано товаров: 26