Запчасти Case IH 501 (9-01) - MAIN FRAME (09) - CHASSIS/ATTACHMENTS

Схема запчастей Case IH 501 - (9-01) - MAIN FRAME (09) - CHASSIS/ATTACHMENTS
12
5
16
15
1
8
16
4
2
11
7
3
13
6
10
9
14
FIT
1:1
100%

Артикул

Название

Примечание

Количество

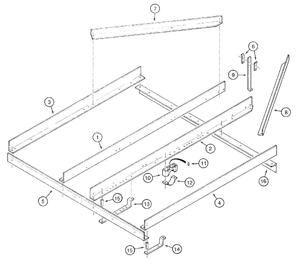
1

100800C3

ANGLE

- inner frame, left-hand

1шт.

2

100801C3

ANGLE

- inner frame, right-hand

1шт.

3

100802C2

ANGLE

- outer frame, left-hand

1шт.

4

100803C2

ANGLE

- outer frame, right-hand

1шт.

5

96161C91

ANGLE

- rear frame, Inc. (2) 59051C2 warning decals and (1) 1254170C1 caution decal

1шт.

See Figures 9-18 and 9-19

1шт.

6

58644C1

HOLDER

SUPPORT - hydraulic hose

2шт.

413-856

BOLT,Hex, 1/2" - 13 x 3-1/2", Gr 5

- hex, 1/2 NC x 3-1/2 inch

2шт.

231-4118

LOCK NUT,1/2"-13, GB

NUT - hex, 1/2 inch NC

2шт.

7

100805C1

ANGLE

- diagonal, left-hand

1шт.

8

100806C1

ANGLE

- diagonal, right-hand

1шт.

413-1228

BOLT,Hex, 3/4" - 10 x 1-3/4", Gr 5

- hex, 3/4 NC x 1-3/4 inch

6шт.

413-1232

BOLT,Hex, 3/4" - 10 x 2", Gr 5

- hex, 3/4 NC x 2 inch

6шт.

492-11075

LOCK WASHER,3/4"

3/4"

12шт.

425-1012

NUT,3/4"-10, G5

- hex, 3/4 inch NC

12шт.

9

283538A1

SUPPORT

BRACKET - hydraulic hose support

1шт.

10

56921C1

CAP

BEARING - axle

4шт.

11

219-3

LUBE NIPPLE,1/8" - 27 NPTF

FITTING - grease, straight, 1/8 inch NF

4шт.

12

277726A1

CAP

CLAMP - axle bearing

4шт.

413-1288

BOLT,Hex, 3/4" - 10 x 5-1/2", Gr 5

- hex, 3/4 NC x 5-1/2 inch

6шт.

413-1296

BOLT,Hex, 3/4" - 10 x 6", Gr 5

- hex, 3/4 NC x 6 inch

2шт.

492-11075

LOCK WASHER,3/4"

3/4"

8шт.

425-1012

NUT,3/4"-10, G5

- hex, 3/4 inch NC

8шт.

13

112452C1

SUPPORT

STRAP - gang frame, front, inner, not shown

2шт.

13

112453C1

SUPPORT

STRAP - gang frame, rear, inner

2шт.

14

100813C1

SUPPORT

STRAP - gang frame, outer

2шт.

15

100882C1

SPACER

- gang frame

6шт.

413-1296

BOLT,Hex, 3/4" - 10 x 6", Gr 5

- hex, 3/4 NC x 6 inch

14шт.

413-1236

BOLT,Hex, 3/4" - 10 x 2-1/4", Gr 5

- hex, 3/4 NC x 2-1/2 inch

2шт.

413-1232

BOLT,Hex, 3/4" - 10 x 2", Gr 5

- hex, 3/4 NC x 2 inch

6шт.

495-81255

WASHER,0.78" ID x 1.5" OD x 0.18" Thk

- flat, 25/32 x 1-1/2 x 11/64 inch

4шт.

492-11075

LOCK WASHER,3/4"

3/4"

24шт.

425-1012

NUT,3/4"-10, G5

- hex, 3/4 inch NC

24шт.

16

96161C91

ANGLE

- front frame, Inc. (2) 59051C2 warning decals and (1) 1254170C1 caution decal

1шт.

See Figures 9-18 and 9-19

1шт.

Выбрано товаров: 35