Запчасти Case IH 780 (9-22) - SCRAPERS AND SCRAPER FRAMES, DISK HARROWS WITH SPRING TYPE SCRAPERS (09) - CHASSIS/ATTACHMENTS

Схема запчастей Case IH 780 - (9-22) - SCRAPERS AND SCRAPER FRAMES, DISK HARROWS WITH SPRING TYPE SCRAPERS (09) - CHASSIS/ATTACHMENTS
9
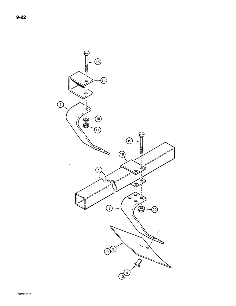
19
1
3
16
15
20
4
2
17
14
8
18
10
FIT
1:1
100%

Артикул

Название

Примечание

Количество

1

953398R1

TUBE

FRAME - scraper mounting (Disk Harrow coded A and D)

2шт.

1

953399R1

TUBE

FRAME - scraper mounting (Disk Harrow coded B)

2шт.

1

953400R1

TUBE

FRAME - scraper mounting (Disk Harrow coded C)

2шт.

1

112877C1

TUBE

FRAME - scraper mounting (Disk Harrow coded D)

1шт.

1

112878C1

TUBE

FRAME - scraper mounting (Disk Harrow coded D)

3шт.

121372C91

HALF BLADE

SCRAPER ASSEMBLY - disk, left-hand, used with item 14 clamp, no longer available, for service order 1263645C91 scraper assembly, 1263644C2 clamp, (2) 113-450 bolts and (2) 131-930 nuts

1шт.

2

NSS

NOT SOLD SEPARAT

BRACKET - blade mounting, spring type, one-bolt pattern, left-hand

1шт.

3

121370C1

HALF BLADE

BLADE - scraper, left-hand

1шт.

4

27877R1

RIVET,FH, 1/2" x 1 1/2"

- scraper blade

2шт.

121373C91

HALF BLADE

SCRAPER ASSEMBLY - disk, right-hand, used with item 14 clamp, no longer available, for service order 1263644C91 scraper assembly, 1263644C2 clamp, (2) 113-450 bolts and (2) 131-930 nuts

1шт.

5

NSS

NOT SOLD SEPARAT

BRACKET - blade mounting, spring type, one-bolt pattern, right-hand, not shown

1шт.

6

121371C1

HALF BLADE

BLADE - scraper, right-hand, not shown

1шт.

7

27877R1

RIVET,FH, 1/2" x 1 1/2"

- scraper blade, not shown

2шт.

1263645C91

HALF BLADE

SCRAPER ASSEMBLY - disk, left-hand, used with item 18 clamp

1шт.

8

NSS

NOT SOLD SEPARAT

BRACKET - blade mounting, spring type, two-bolt pattern, left-hand

1шт.

9

121370C1

HALF BLADE

BLADE - scraper, left-hand

1шт.

10

27877R1

RIVET,FH, 1/2" x 1 1/2"

- scraper blade

2шт.

1263646C91

HALF BLADE

SCRAPER ASSEMBLY - disk, right-hand, used with item 18 clamp

1шт.

11

NSS

NOT SOLD SEPARAT

BRACKET - blade mounting, spring type, two-bolt pattern, right-hand, not shown

1шт.

12

27877R1

RIVET,FH, 1/2" x 1 1/2"

- scraper blade, not shown

2шт.

13

121371C1

HALF BLADE

BLADE - scraper, right-hand, not shown

1шт.

14

121369C2

CLAMP

- scraper, one-bolt pattern

1шт.

15

121378C1

BOLT

- special, used with item 14 clamp

1шт.

16

80679

LOCK WASHER,1/20.507 CST ZND

WASHER, LOCK, , Used with item 14 clamp 1/2"

1шт.

17

425-108

NUT,1/2" - 13, Gr 5

NUT, , Hex, Used with item 14 clamp 1/2"-13, G5

1шт.

18

1263644C1

CLAMP

- scraper, two-bolt pattern

1шт.

19

180193

BOLT,Hex, 1/2" - 13 x 3 3/4", Gr 5

- hex, 1/2 NC x 3-3/4 inch, used with item 18 clamp

1шт.

20

131-930

FLANGE NUT,Hex Serr, 1/2" - 13, Gr 5

- hex flange lock, 1/2 inch NC, used with item 18 clamp

1шт.

Выбрано товаров: 28