Запчасти Case IH D39 (36) - SCRAPER BARS & SCRAPERS, MAIN GANG

Схема запчастей Case IH D39 - (36) - SCRAPER BARS & SCRAPERS, MAIN GANG
FIT
1:1
100%

Артикул

Название

Примечание

Количество

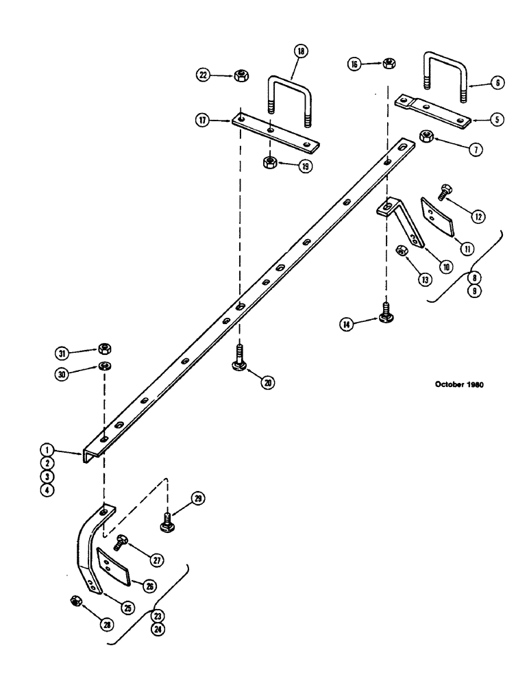
1

T53837

BAR - scraper front RH and LH 70-1/16" (1779.6 MM) Models 324 and 360

2шт.

2

T53193

BAR - scraper rear RH and LH 60-7/8" (1546.2 MM) Models 324 and 360

2шт.

3

T56267

BAR - scraper front RH and LH 88-7/16" (2246.3 MM) Models 414 and 468

2шт.

4

T53187

BAR - scraper rear RH and LH 79-1/4" (2013.0 MM) Models 414 and 468

2шт.

5

T56252

MOUNT - scraper bar rear (Rigid gang)

2шт.

6

T56686

U-BOLT

- (Rigid gang)

2шт.

7

131-1131

LOCK NUT,3/4"-10, GA

NUT - lock 3/4" NC hex

4шт.

8

T55087

SCRAPER

ASSEMBLY - RH

1шт.

9

T55088

SCRAPER

ASSEMBLY - LH

1шт.

10

T55103

SUPPORT ASSY.

SHANK

1шт.

11

T55102

HALF BLADE

BLADE

1шт.

12

113-410

BOLT,Hex, 1/2" - 13 x 1-1/2", Gr 5, Full Thd

2шт.

13

131-165

NUT,1/2"-13, GA

NUT - lock 1/2" NC hex

2шт.

14

111-524

CARRIAGE BOLT,Short NK, 1/2"-13 x 1 1/2", G5

BOLT - 1/2 x 1-1/2" NC carriage (Grade 5) (One per scraper)

1шт.

16

131-912

LOCK NUT,Flg, 1/2"-13

NUT - lock 1/2" NC hex flange (One per scraper)

1шт.

17

T56505

SUPPORT - scraper bar rear (Flex gang)

2шт.

18

T56686

U-BOLT

(Flex gang)

2шт.

19

131-1131

LOCK NUT,3/4"-10, GA

NUT - lock 3/4" NC hex

4шт.

20

111-617

BOLT,Short NK, 5/8"-11 x 1 3/4", G5

- 5/8 x 1-3/4" NC carriage (Grade 5)

1шт.

22

131-917

LOCK NUT,Flg, 5/8"-11

NUT - lock 5/8" NC hex flange (One per bolt)

1шт.

23

T56298

SCRAPER

ASSEMBLY - RH front

1шт.

24

T56299

SCRAPER

ASSEMBLY - LH front

1шт.

25

T56098

SHANK

1шт.

26

T55102

HALF BLADE

BLADE

1шт.

27

113-410

BOLT,Hex, 1/2" - 13 x 1-1/2", Gr 5, Full Thd

2шт.

28

131-165

NUT,1/2"-13, GA

NUT - lock 1/2" NC hex

2шт.

29

111-539

CARRIAGE BOLT,Short NK, 1/2"-13 x 2", G5

BOLT - 1/2 x 2" NC carriage

2шт.

30

195-106

WASHER,1/2"

- 1-3/8 x 9/16" x 12 gauge

2шт.

31

131-165

NUT,1/2"-13, GA

NUT - lock 1/2" NC hex

2шт.

Выбрано товаров: 29