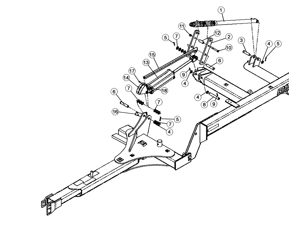
Запчасти Case IH RMX790 (39.100.05) - HYDRAULIC LEVELING ASSSEMBLY PARTS (09) - CHASSIS/ATTACHMENTS

Схема запчастей Case IH RMX790 - (39.100.05) - HYDRAULIC LEVELING ASSSEMBLY PARTS (09) - CHASSIS/ATTACHMENTS
9
15
7
5
10
7
7
4
12
6
11
8
4
3
13
16
5
4
7
6
2
18
17
9
5
14
1
4
FIT
1:1
100%

Артикул

Название

Примечание

Количество

1

87455604

ADJUSTMENT SCREW

Leveling Assembly

1шт.

2

87349171

BAR

Bell Crank

2шт.

3

427-20500

CLEVIS PIN,31.75mm OD x 125mm L

1шт.

4

17620020

BUSHING,32.15mm ID x 47.63mm OD x 2.08mm L

1-1/4 Inch Machine

4шт.

5

432-1632

COTTER PIN,1/4" x 2"

3шт.

6

427-20625

CLEVIS PIN,31.75mm OD x 158.75mm L

2шт.

7

496-81009

WASHER,33.33mm ID x 50.33mm OD x 5.41mm Thk

14шт.

8

86989785

PIN

1-1/4 Inch x 187 mm

1шт.

9

438-12036

LOCK PIN,5/16" x 2 1/4", Slotted

2шт.

10

413-1296

BOLT,Hex, 3/4" - 10 x 6", Gr 5

1шт.

11

280375

NUT,3/4"-10, GC

1шт.

12

447862A1

TUBE

Spacer

1шт.

13

87341190

HYDRAULIC CYLINDER,Double Acting, 44.45mm Rod, 101.6mm Stroke

4 Inch Leveling Cylinder

1шт.

14

87435350

INDICATOR

Leveling

1шт.

15

87342487

LINK

Leveling Indicator Link

1шт.

16

87341111

INDICATOR

Leveling Indicator

1шт.

17

413-616

BOLT,Hex, 3/8" - 16 x 1", Gr 5

1шт.

18

425-106

NUT,3/8"-16, Cl 5

1шт.

Выбрано товаров: 18