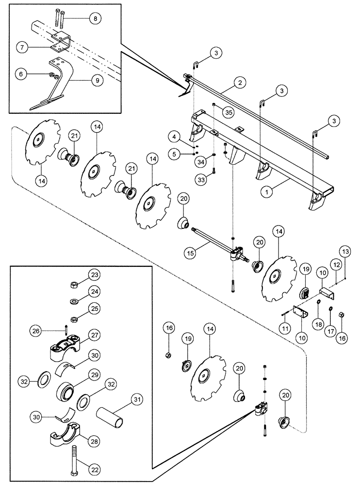
Запчасти Case IH RMX790 (75.200.05) - PLOWING NON FOLDING FRONT MAIN DISK GANG PARTS (09) - CHASSIS/ATTACHMENTS

Схема запчастей Case IH RMX790 - (75.200.05) - PLOWING NON FOLDING FRONT MAIN DISK GANG PARTS (09) - CHASSIS/ATTACHMENTS
20
27
12
3
20
26
28
14
16
2
18
32
3
14
23
9
5
6
20
25
13
8
30
10
20
22
21
33
10
16
4
29
34
14
32
14
1
11
19
19
3
21
14
31
15
24
17
7
35
30
FIT
1:1
100%

Артикул

Название

Примечание

Количество

1

87439363

SUPPORT TUBE

Front Gang, Rigid, 11 Foot

1шт.

1

87439365

SUPPORT TUBE

Front Gang, Rigid, 14 Foot

1шт.

1

87439367

SUPPORT TUBE

Front Gang, Rigid, 17 Foot

1шт.

1

87439369

SUPPORT TUBE

Front Gang, Rigid, 20 Foot

1шт.

2

87439645

TUBE,50.8 mm OD x 3290 mm L

Scraper, 130 Inch, 11 Foot

1шт.

2

87439646

TUBE,50.8mm OD x 4175 mm L

Scraper, 154 Inch, 14 Foot

1шт.

2

87439647

TUBE,50.8 mm OD x 5130.8 mm L

Scraper, 202 Inch, 17 Foot

1шт.

2

87439648

TUBE,50.8 mm OD x 6096 mm L

Scraper, 232 Inch, 20 Foot

1шт.

3

60255C1

BOLT

1шт.

4

492-11075

LOCK WASHER,3/4"

1шт.

5

425-1012

NUT,3/4"-10, G5

1шт.

6

86512371

SERRATED NUT,Flg, USR, 1/2"-13

1шт.

7

1263644C1

CLAMP

Scraper

1шт.

8

413-860

BOLT,Hex, 1/2" - 13 x 3-3/4", Gr 5

1шт.

9

1263646C91

HALF BLADE

Scraper Assembly, RH

1шт.

10

129567C1

SUPPORT

Gang Driver

2шт.

11

413-888

BOLT,Hex, 1/2" - 13 x 5-1/2", Gr 5

4шт.

12

80679

LOCK WASHER,1/20.507 CST ZND

4шт.

13

425-108

NUT,1/2" - 13, Gr 5

4шт.

14

60279C3

DISK HARROW

825 x 8 mm, Notched

1шт.

15

112884C1

BAR

Arbor, 1-3/4 Inch Square (5 blade)

1шт.

15

60244C2

BOLT

Arbor, 1-3/4 Inch Square (6 blade)

1шт.

15

60245C1

BOLT

Arbor, 1-3/4 Inch Square (7 blade)

1шт.

15

60246C1

BOLT

Arbor, 1-3/4 Inch Square (10 blade)

1шт.

16

425-1628

NUT,1 3/4"-5, G5, Hvy

2шт.

17

60254C1

LOCK WASHER,45.54mm ID x 66.5mm OD x 9.22mm Thk

Light, Spring, Lock

1шт.

18

60243C2

SPACER

1шт.

19

60253C2

WASHER

End

2шт.

20

60250C1

SPOOL

Bearing, 12 Inch

4шт.

21

60252C1

SPOOL

Spacing, 12 Inch

1шт.

22

60248C1

BOLT,Hex, 1" - 8 x 8", Gr 5

1 x 8 Inch, NC

4шт.

23

425-1016

NUT,1"-8, G5

4шт.

24

25550R1

WASHER,1 1/16" x 2" x .219", HDN

4шт.

25

425-1416

JAM NUT,Jam, 1"-8, G5

4шт.

26

219-7

LUBE NIPPLE,1/8" - 27 NPTF

2шт.

27

961902R2

CAP

Upper Bearing

2шт.

28

961903R2

CLAMP

Bearing Mounting, Lower

2шт.

29

60249C91

BALL BEARING,70mm ID x 125mm OD x 61.93mm W

Ball

2шт.

30

60247C1

STRIP

Isolator, rubber

4шт.

31

60251C1

TUBE,2.312" ID, 2.745" OD, 6.8" Length

Arbor Bolt Support

2шт.

32

961921R1

WASHER,70.231 mm ID x 110.3 mm OD x 6.35 mm

Trash Bearing

4шт.

33

60255C1

BOLT

1шт.

34

492-11075

LOCK WASHER,3/4"

1шт.

35

425-1012

NUT,3/4"-10, G5

1шт.

Выбрано товаров: 44