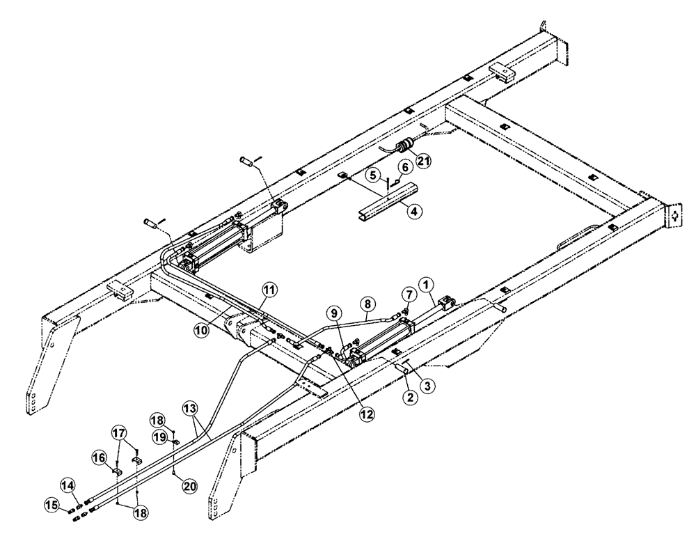
Запчасти Case IH RMX790 (35.100.01) - TRANSPORT HYDRAULICS - MECHANICAL (08) - HYDRAULICS

Схема запчастей Case IH RMX790 - (35.100.01) - TRANSPORT HYDRAULICS - MECHANICAL (08) - HYDRAULICS
10
17
15
2
5
4
13
8
9
19
1
11
18
20
18
16
21
12
3
6
14
7
FIT
1:1
100%

Артикул

Название

Примечание

Количество

1

87423765

CYLINDER,Double Acting, 38.1mm Rod, 406.4mm Stroke

3-1/2 x 16

2шт.

2

427-20350

CLEVIS PIN,31.75mm OD x 88.9mm L

4шт.

3

432-1632

COTTER PIN,1/4" x 2"

1/4" x 2"

4шт.

4

87435824

CHANNEL

Cylinder

2шт.

5

439-1656

HEADED PIN,3/8" x 3 1/2"

2шт.

6

1978737C1

COTTER PIN,Int, 1/8" x 49mm

Hair

2шт.

7

218-5128

ELBOW,90° Elbow, 9/16" - 18 Male JIC x 3/4" - 16 Male ORB

4шт.

8

393704R92

HYDRAULIC HOSE

Hydraulic, 3/8 x 31

1шт.

9

1284323C1

HYDRAULIC HOSE

Hydraulic, 3/8 x 15

1шт.

10

810570C2

HYDRAULIC HOSE

Hydraulic, 3/8 x 90

1шт.

11

1254574C2

HYDRAULIC HOSE

Hydraulic, 3/8 x 60

1шт.

12

218-593

TEE,9/16"-18, 37 Degree

2шт.

13

1268131C2

HYDRAULIC HOSE,9.53mm ID x 5840mm L

Hydraulic, 3/8 x 230

2шт.

14

218-5058

HYD CONNECTOR,9/16" - 18 Male JIC x 3/4" - 18 Male ORB

2шт.

15

25705041

COUPLING

3/4 SAEF

2шт.

16

06200125

HOSE CLAMP

2шт.

17

413-624

BOLT,Hex, 3/8" - 16 x 1-1/2", Gr 5

2шт.

18

86992213

NUT

3/8

7шт.

19

22510700

HOSE CLAMP,15.86mm

5/8, Cushion

5шт.

20

433-616

CARRIAGE BOLT,Sq Nk, 3/8" - 16 x 1", Gr 5

5шт.

21

25800010

CYLINDER

Stroke Control

4шт.

22

289862C1

CABLE TIE,3/16" x 7"

CABLE STRAP Not Shown

1шт.

Выбрано товаров: 22