Запчасти Case IH TIGER-MATE (44.100.07) - WING RIGID STABILIZER WHEEL (44) - WHEELS

Схема запчастей Case IH TIGER-MATE - (44.100.07) - WING RIGID STABILIZER WHEEL (44) - WHEELS
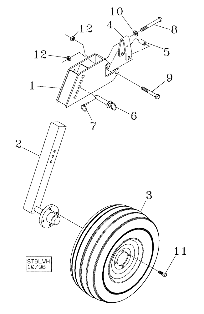
9
7
11
12
5
4
10
6
1
2
12
8
FIT
1:1
100%

Артикул

Название

Примечание

Количество

1

06400080

CHANNEL

Gauge Wheel Mount

1шт.

2

06400090

CHANNEL

Leg Extension With 633 Hub

1шт.

3

10060150

LAND WHEEL

5.90 - 15, Tire Assy. With Tube - White

1шт.

3

10060250

LAND WHEEL

5.90 - 15, Tire Assy. With Tube - Silver

1шт.

3

10060160

LAND WHEEL

5.90 - 15, Tire Assy. Tubeless, White

1шт.

3

10060260

LAND WHEEL

5.90 - 15, Tire Assy. Tubeless - Silver

1шт.

4

06405150

CLAMP

Mount

1шт.

5

06405140

SPACER

Spacer Bushing

1шт.

6

14816348

PIN,25.4mm OD x 133.35mm L

1шт.

7

14710814

SMALL PIN

1/4" Dia. x 1-3/4" Klik

1шт.

8

16010265

BOLT

5/8" x 6-1/2" NC Gd. 5

1шт.

9

16010205

BOLT

5/8" x 5" NC Gd. 5

1шт.

10

NSS

NOT SOLD SEPARAT

I.D 11/16" Washer

1шт.

11

16408053

SPECIAL BOLT

1/2 x 1 Wheel

4шт.

12

14111001

NUT

5/8 NC Stover Lock

2шт.

Выбрано товаров: 15