Запчасти Case IH TIGER-MATE (44.100.08) - PIVOT STABALIZING WHEEL (44) - WHEELS

Схема запчастей Case IH TIGER-MATE - (44.100.08) - PIVOT STABALIZING WHEEL (44) - WHEELS
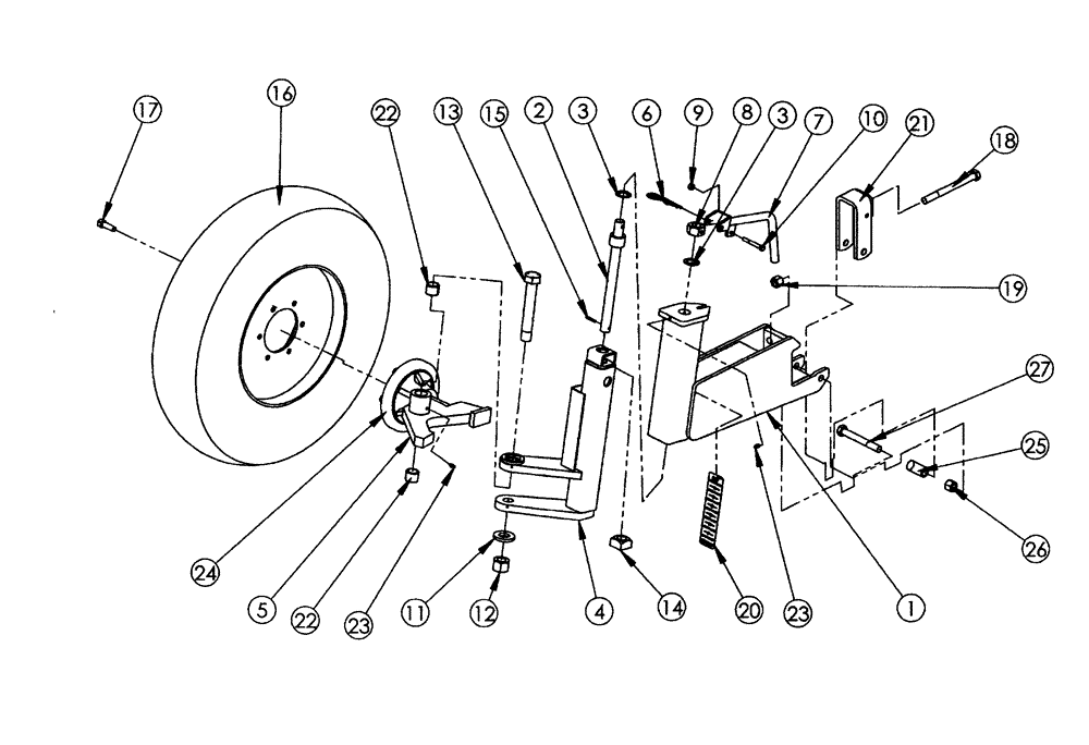
10
11
26
16
1
15
24
27
21
7
5
22
4
6
19
23
20
8
22
3
18
2
12
13
9
23
14
25
3
FIT
1:1
100%

Артикул

Название

Примечание

Количество

1

87455305

MOUNTING PARTS

Support Arm

1шт.

2

87448201

ADJUSTER

Stud, Adjuster, Gauge Wheel

1шт.

3

17616021

BUSHING,25.8mm ID x 38.1mm OD x 2.08mm L

1, Machine, 14 Ga, ZP

2шт.

4

87446662

SLIDE

Inner, Gauge Wheel

1шт.

5

87446663

PIVOT ASSY.

Gauge Wheel, LH

1шт.

5

87448193

PIVOT ASSY.

Gauge Wheel, RH

1шт.

6

1978738C1

HAIR PIN COTTER

1шт.

7

87446661

HANDLE

Gauge Wheel

1шт.

8

87448204

NUT

Adjuster Stud, 1, NC

1шт.

9

86992212

NUT

0.3125, ZP, Stover, Gd. C

1шт.

10

413-540

BOLT,Hex, 5/16" - 18 x 2-1/2", Gr 5

1шт.

11

17916100

WASHER

1 x 1/4

1шт.

12

87304132

NUT,1"-8, GC

1, ZP, Gd. B

1шт.

13

5971

BOLT,Hex, 1" - 8 x 6 3/8", Gr 5

1шт.

14

87448791

SQUARE NUT

Square, 1, NC

1шт.

15

438-31220

PIN,3/16" x 1 1/4", Coiled

1шт.

16

87451735

WHEEL ASSY.

7.6 x 15, 6-PR, Tube, White

1шт.

17

549962R1

BOLT,1 1/2" - 20 x 1 1/2", Class 3

Wheel, 1/2 NF, XS 1 - 15/32

6шт.

18

280293

BOLT,Hex, 5/8" - 11 x 7", Gr 5

2шт.

19

85700693

NUT,5/8" - 11, Gr C

2шт.

20

87450575

DECAL

Depth Indicator

1шт.

21

06405139

CLAMP

2 Bolt Clamp

1шт.

22

87401008

BUSHING,25.4mm ID x 31.75mm OD x 25.4mm L

Connex, 1-1/4 x 1 x 1

2шт.

23

219-87

LUBE NIPPLE,1/4" - 28 NPTF

2шт.

24

87448205

STUB AXLE/STEERING S

QDS, 710 Assembly

1шт.

25

06405149

BUSHING

Spacer

1шт.

26

85700693

NUT,5/8" - 11, Gr C

1шт.

27

88729

BOLT,Hex, 5/8" - 11 x 5", Gr 5

1шт.

Выбрано товаров: 0