Запчасти Case IH 354 (AS-07) - JACK UNIT

Схема запчастей Case IH 354 - (AS-07) - JACK UNIT
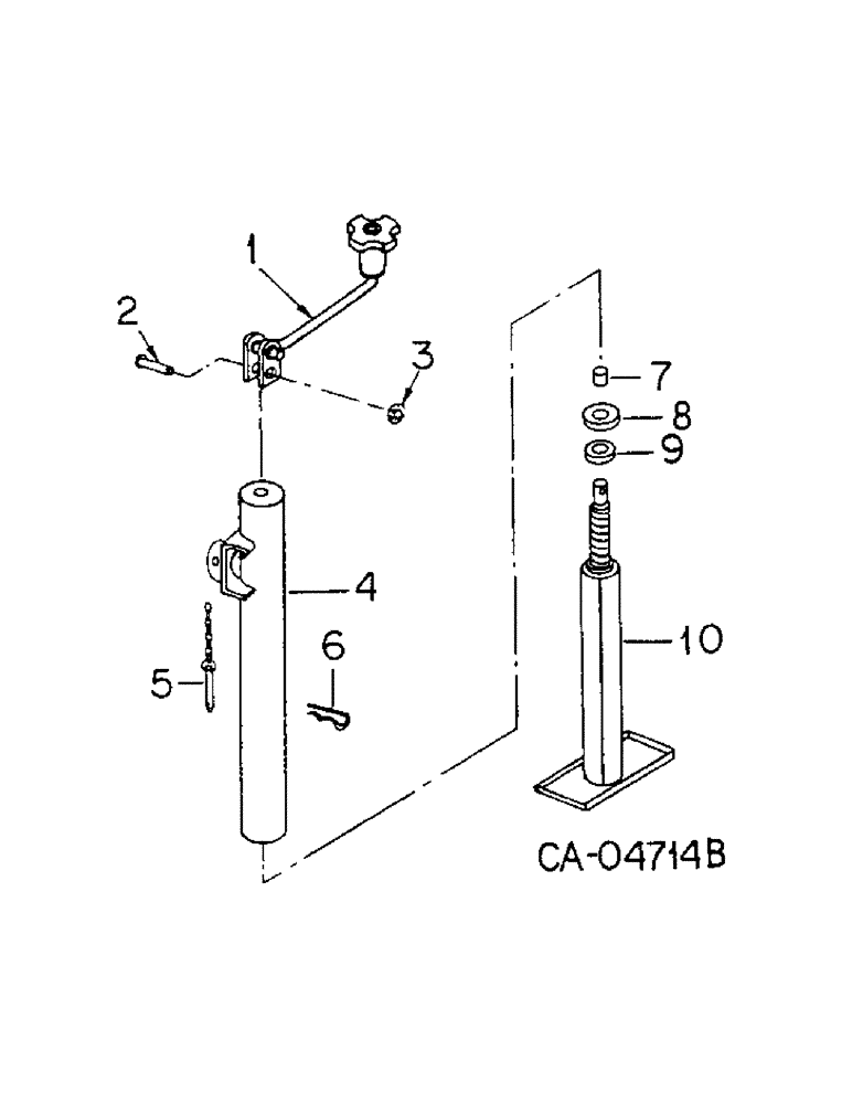
7
10
1
9
2
4
8
5
6
3
FIT
1:1
100%

Артикул

Название

Примечание

Количество

1256363C91

JACK ASSY.

JACK ASSY, replaces 63236C91

1шт.

1

1256366C1

CRANK

1шт.

2

1256367C1

PIN

headed crank

1шт.

3

1256368C1

NUT

retaining

1шт.

4

TUBE, outer, not serviced separately

1шт.

5

1256369C1

CHAIN (AG)

CHAIN W/PIN

1шт.

6

480253R1

PIN, quick attachable cot.

1шт.

7

59112C1

BUSHING

SLEEVE

1шт.

8

1256370C91

ROLLER BEARING,0.5" ID x 1.42" OD x 0.45"

BEARING, roller

1шт.

9

59113C1

THRUST WASHER

1шт.

10

TUBE ASSY, inner staked, not serviced separately

1шт.

Выбрано товаров: 11