Запчасти Case IH DOT B (024) - WING FRAMES AND EXTENSIONS, 25 FOOT (7.6 M)

Схема запчастей Case IH DOT B - (024) - WING FRAMES AND EXTENSIONS, 25 FOOT (7.6 M)
FIT
1:1
100%

Артикул

Название

Примечание

Количество

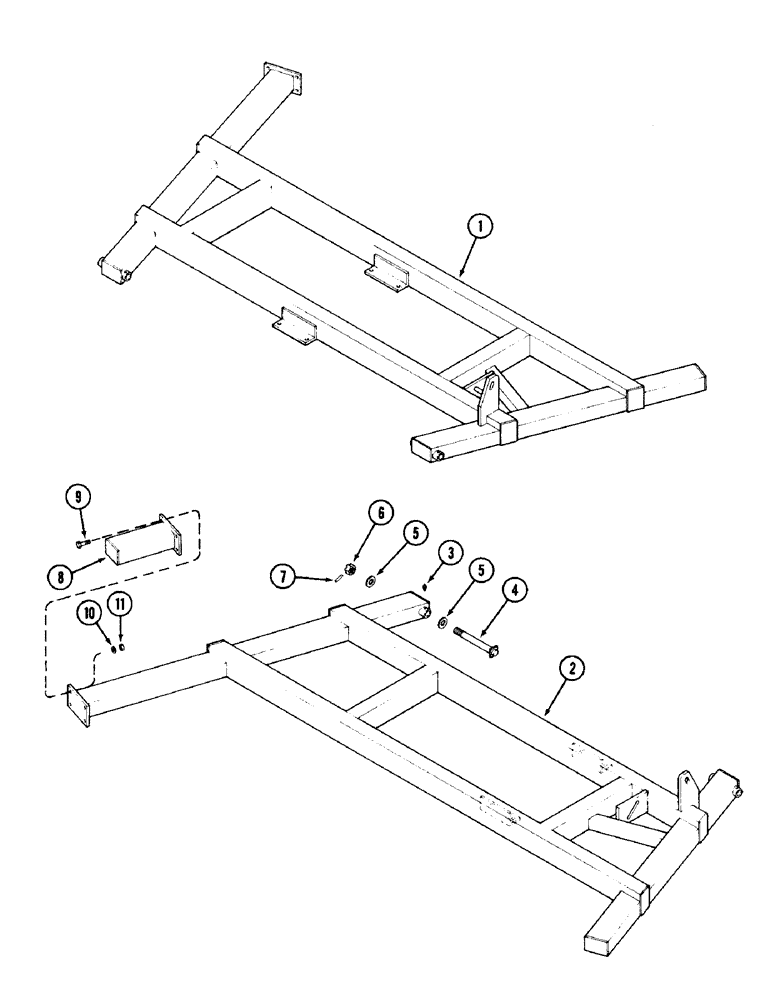
1

T57522

FRAME - left wing

1шт.

2

T57519

FRAME - right wing

1шт.

3

219-14

LUBE NIPPLE,1/4" NPTF

8шт.

4

T55765

PIN - wing hinge

4шт.

5

95-24

WASHER,1 1/2" x 3 1/2" x .18"

- 3-1/2 x 1-5/8" x 7 gauge

8шт.

6

25-3024

SLOTTED NUT,1 1/2"-6, G5, Hvy

NUT - 1-1/2" NC hex slotted

4шт.

7

138-162

LOCK PIN,5/16" x 2 1/4", Slotted

Pin, 5/16" x 2 1/4", Slotted

4шт.

8

T56441

EXTENSION - wing 15" (381.0 MM)

2шт.

9

113-708

BOLT,Hex, 3/4" - 10 x 2", Gr 5

8шт.

10

192-27

LOCK WASHER,3/4"

WASHER, LOCK, 3/4"

8шт.

11

129-108

NUT,3/4"-10, G5

8шт.

Выбрано товаров: 11