Запчасти Case IH K23B (02) - HITCH

Схема запчастей Case IH K23B - (02) - HITCH
FIT
1:1
100%

Артикул

Название

Примечание

Количество

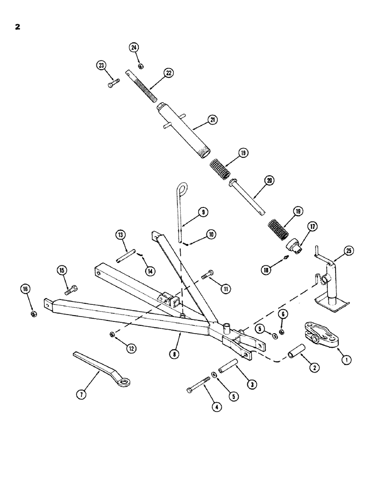
1

T54658

CLEVIS

- hitch

1шт.

2

T51565

BUSHING

- clevis

1шт.

3

T51566

BUSHING

- clevis

1шт.

4

113-735

BOLT,Hex, 3/4" - 10 x 9", Gr 5

- 3/4 x 9" NC hex (Grade 5)

1шт.

5

195-109

WASHER,3/4"

- 2 x 13/16" x 9 gauge

2шт.

6

131-385

LOCK NUT,3/4"-10, GA

NUT - lock 3/4" NC hex

1шт.

7

T54659

WRENCH

1шт.

8

T54662

TOW BAR

HITCH - pull

1шт.

9

T53995

HOLDER - hose

1шт.

10

132-349

COTTER PIN,1/4" x 1 1/2"

PIN, Split (Cotter), 1/4" x 1-1/2"

1шт.

11

113-717

BOLT,Hex, 3/4" - 10 x 3-1/2", Gr 5

2шт.

12

131-385

LOCK NUT,3/4"-10, GA

NUT - lock 3/4" NC hex

2шт.

13

T53202

PIN

- pivot

1шт.

14

132-349

COTTER PIN,1/4" x 1 1/2"

PIN, Split (Cotter), 1/4" x 1-1/2"

2шт.

15

113-902

BOLT,Hex, 1" - 8 x 3-1/2", Gr 5

2шт.

16

131-698

LOCK NUT,1"-8, GB

NUT - lock 1" NC hex

2шт.

17

T51572

CAP

1шт.

18

219-15

LUBE NIPPLE,5/16" NPTF

FITTING - grease 5/16"

1шт.

19

T51576

SPRING

2шт.

20

T51573

ROD

- piston

1шт.

21

T52699

HOUSING

- spring

1шт.

22

T51574

ROD

1шт.

23

113-717

BOLT,Hex, 3/4" - 10 x 3-1/2", Gr 5

1шт.

24

131-385

LOCK NUT,3/4"-10, GA

NUT - lock 3/4" NC hex

1шт.

25

T56247

JACK

1шт.

Выбрано товаров: 25