Запчасти Case IH 520 (Y-14) - THREE POINT HITCH, CATEGORY I

Схема запчастей Case IH 520 - (Y-14) - THREE POINT HITCH, CATEGORY I
FIT
1:1
100%

Артикул

Название

Примечание

Количество

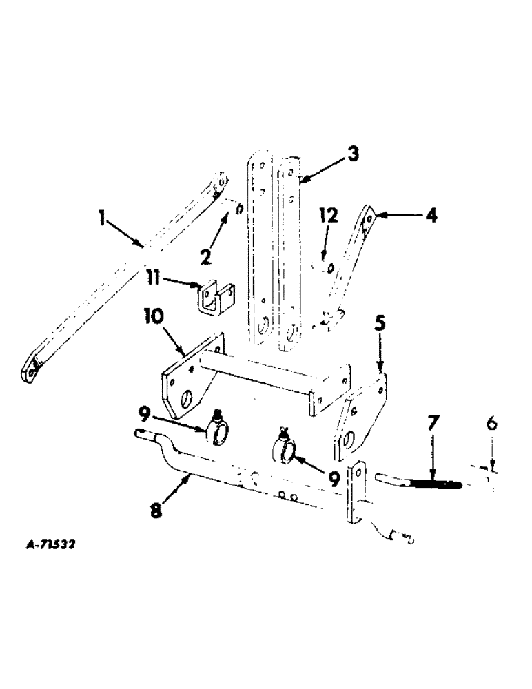
1

466936R1

BRACE, mast LH, 15 in. plow

1шт.

1

466937R1

BRACE, mast LH, 16 in. plow

1шт.

5/8 NUT

1шт.

5/8 x 2-1/2 CAP SCREW

1шт.

5/8 LOCK WASHER

1шт.

2

465971R1

SPACER

mast

1шт.

3

466935R1

MAST, upper

2шт.

5/8 NUT

1шт.

5/8 x 4 CAP SCREW

1шт.

5/8 LOCK WASHER

1шт.

4

466940R91

BRACE, mast RH

1шт.

3/4 NUT

1шт.

3/4 x 5 CAP SCREW

1шт.

3/4 LOCK WASHER

1шт.

5

466929R1

PLATE, cross bar bearing

1шт.

5/8NF NUT

2шт.

5/8NF x 3-1/2 CAP SCREW

1шт.

5/8NF x 4 CAP SCREW

1шт.

5/8 LOCK WASHER

2шт.

6

466938R1

ANCHOR, landing bolt

1шт.

7

466939R1

ROD,3/4" - 10 x 7", Steel

BOLT, landing

1шт.

3/4 NUT

2шт.

1/4 x 1-1/4 SELF-OPENING COT PIN

1шт.

8

466931R91

BAR, lateral cross

1шт.

9

9033X

COLLAR W/SET SCREW, lateral cross bar

2шт.

110451

SET SCREW

1/2 x 1-1/4 SQ-HD CUP-PT SET SCREW

2шт.

10

466925R91

SPREADER, front, 14 in. plow

1шт.

10

466943R91

SPREADER, front, 16 in. plow

1шт.

5/8NF NUT

1шт.

5/8NF x 2-1/2 CAP SCREW

1шт.

5/8 LOCK WASHER

1шт.

11

469659R1

CLIP, mast locating

1шт.

12

469658R1

SPACER, mast lower

1шт.

Выбрано товаров: 33