Запчасти Case IH 55 (13-05) - SLOW MOVING VEHICLE SAFETY EMBLEM

Схема запчастей Case IH 55 - (13-05) - SLOW MOVING VEHICLE SAFETY EMBLEM
FIT
1:1
100%

Артикул

Название

Примечание

Количество

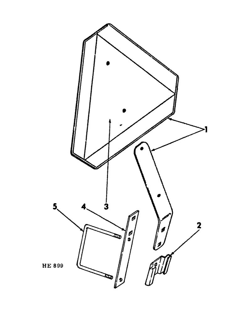
1

407220R1

PRODUCT GRAPHIC

PACKAGE, slow moving vehicle steel emblem

1шт.

598802R1

CARRIAGE BOLT,Short NK, 5/16"-18 x 3/4", G5, Full Thd

5/16 X 3/4" CRG BOLT

2шт.

120376

NUT,5/16"-18, G5

2шт.

80681

LOCK WASHER,5/16"

WASHER, LOCK, 5/16"

2шт.

1

407218C1

PACKAGE, slow moving vehicle aluminum emblem

1шт.

598802R1

CARRIAGE BOLT,Short NK, 5/16"-18 x 3/4", G5, Full Thd

5/16 X 3/4" CRG BOLT

2шт.

120376

NUT,5/16"-18, G5

2шт.

80681

LOCK WASHER,5/16"

WASHER, LOCK, 5/16"

2шт.

2

398976R1

BRACKET

slow moving vehicle mounting

1шт.

598802R1

CARRIAGE BOLT,Short NK, 5/16"-18 x 3/4", G5, Full Thd

5/16 X 3/4" CRG BOLT

2шт.

134238R1

WASHER

11/32 X 1 X 16 GA WASHER

2шт.

120376

NUT,5/16"-18, G5

2шт.

80681

LOCK WASHER,5/16"

WASHER, LOCK, 5/16"

2шт.

3

407263R1

PRODUCT GRAPHIC,SMV Triangle Yellow Orange

PACKAGE, slow moving vehicle emblem film

1шт.

4

608328R1

BAR

slow moving vehicle emblem mounting

1шт.

5

608294R1

U-BOLT,U, 5/8" - 11 x 134mm

mounting bar

1шт.

280374

NUT,Hex, 5/8" - 11, Gr 5

5/8" NUT

2шт.

Выбрано товаров: 17