Запчасти Case IH 660 (AF-08) - HYDRAULIC EQUIPMENT

Схема запчастей Case IH 660 - (AF-08) - HYDRAULIC EQUIPMENT
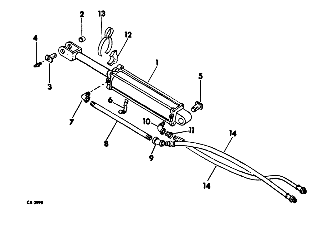
4
14
11
12
8
9
14
2
10
7
1
3
13
6
5
FIT
1:1
100%

Артикул

Название

Примечание

Количество

1

959947R91

CYLINDER,Double Acting, 406.4mm Stroke

5 x 16 hyd, refer to cyl, 1 for components

1шт.

2

953369R1

BUSHING, hyd cyl

2шт.

3

951714R1

PIN

cyl mtg, rod end

1шт.

4

109461

LUBE NIPPLE,1/8"-27 x .66 lg

NIPPLE, LUBE, , PTF 1/8"-27 x .66 lg

1шт.

517843R1

COTTER PIN

PIN, qa

1шт.

5

959945R93

PIN

cyl mtg, anchor end

1шт.

32-1632

COTTER PIN,1/4" x 2"

PIN, SPLIT (COTTER), 1/4" x 2"

1шт.

6

959922R1

BRACKET, pipe support

2шт.

17424R1

BOLT,Hex, 1/4" - 20 x 1"

1/4 x 1 mach

1шт.

109084

NUT,1/4"-20, G5

1шт.

103319

LOCK WASHER,1/4"

WASHER, LOCK, 1/4"

1шт.

7

141621

ELBOW,90 Degree, 3/4" NPT Street

3/4 x 90 deg street

1шт.

8

959558R1

PIPE, 3/4 x 18

1шт.

9

119950

ELBOW, 3/4 x 45 deg

1шт.

10

140798

ELBOW,45 Degree, 3/4" NPT Street

3/4 x 45 deg street

1шт.

11

144340

ADAPTER, 3/4 x 1/2 reducing

2шт.

12

952111R1

COLLAR, hyd cyl

14шт.

13

952112R1

SPRING, cyl collar

7шт.

14

960884R91

HOSE, 1/2 x 156 hyd

2шт.

Выбрано товаров: 19