Запчасти Case IH 660 (AF-02) - HITCH

Схема запчастей Case IH 660 - (AF-02) - HITCH
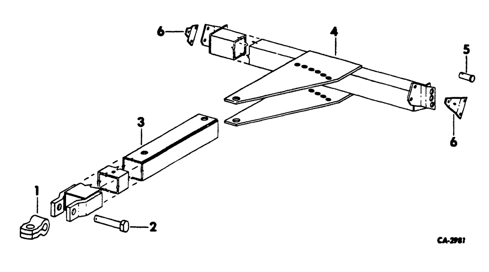
4
6
6
3
5
2
1
FIT
1:1
100%

Артикул

Название

Примечание

Количество

1

957685R1

LINK, hitch

1шт.

2

963973R1

PIN, clevis

1шт.

960676R1

PIN, slotted spring

1шт.

446328

WASHER, 1-13/16 x 3-3/4 x .180

2шт.

3

953946R1

TONGUE ASSY

1шт.

958792R1

BOLT, 2 x 9, type 5, heat-treated

1шт.

963617R1

NUT, 2 in.

1шт.

958859R1

BOLT, 1-1/2 x 8, type 5, heat-treated

1шт.

425-1024

NUT,1 1/2"-6, G5

1-1/2

1шт.

192-39

LOCK WASHER,1 1/2"

1-1/2"

1шт.

4

957334R1

BEAM, spreader

1шт.

5

958065R1

PIN, 1-1/4 x 3-7/8 hded

2шт.

32-1632

COTTER PIN,1/4" x 2"

PIN, SPLIT (COTTER), 1/4" x 2"

2шт.

6

950666R1

HAMMER, straper, WT transfer

4шт.

17597R1

BOLT, 3/4 x 2-1/2 mach

4шт.

220081

NUT

3/4

4шт.

103326

LOCK WASHER,3/4"

WASHER, LOCK, 3/4"

4шт.

Выбрано товаров: 17