Качественные детали и логистика
Оригинальные и аналоговые запчасти с доставкой по России, Казахстану и Беларуси
©2022 PartSell ООО "Система" ИНН 2463123282 ОГРН 1212400004838
Центральный офис: г. Красноярск, Академика Киренского, д.87, пом.4
Телефон: 8 (800) 777-65-74 Email: zakaz@partsell.ru
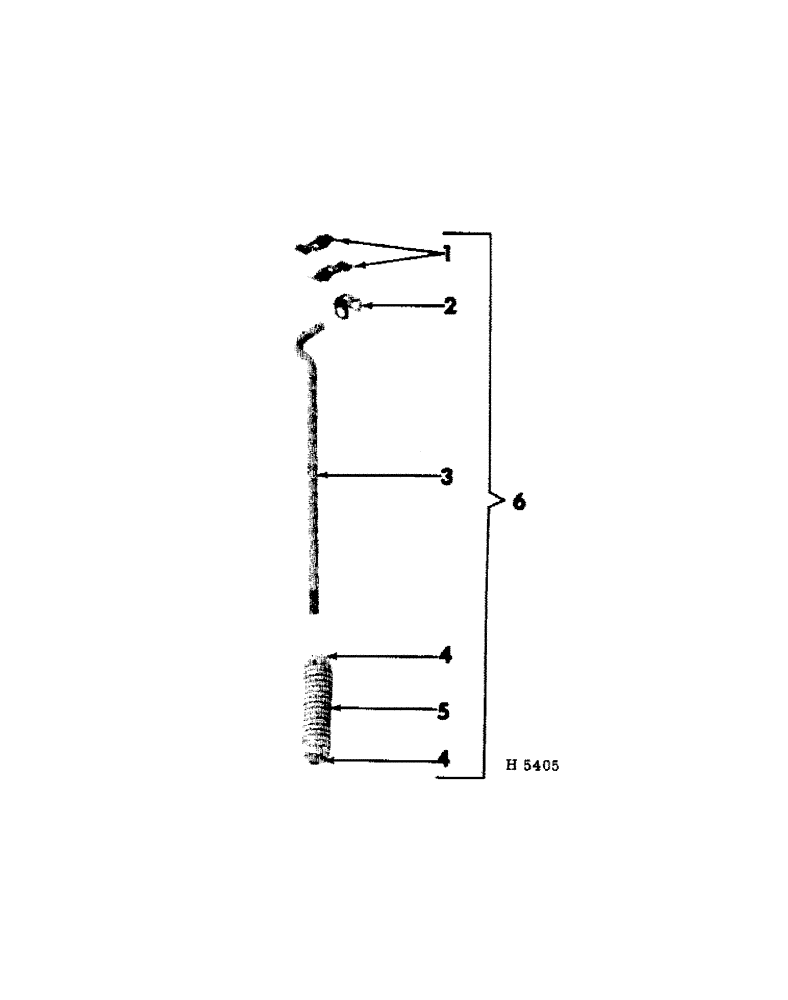
(06-04[A]) - FLEXIBLE HOSE SUPPORT
№
Артикул
Название
Примечание
Количество
1
515030R1
CLAMP
hose
2шт.
3/8 X 1-3/4" CARRIAGE BOLT
3/8" WING NUT
2
515029R1
BRACKET
hose clamp
1шт.
3
515028R1
ROD
hose support
3/16 X 1-1/4" COTTER PIN
4
SA1378A
PLUG
spring
5
515031R1
SPRING
5/8 X 2" MACH. BOLT
21/32 X 1-1/4 X 16 GAUGE WASHER
6
514935R91
SUPPORT ASSEMBLY, hydraulic hose
Выбрано товаров: 0