Запчасти Case IH 415 (B-15) - HYDRAULIC EQUIPMENT, UNIT H

Схема запчастей Case IH 415 - (B-15) - HYDRAULIC EQUIPMENT, UNIT H
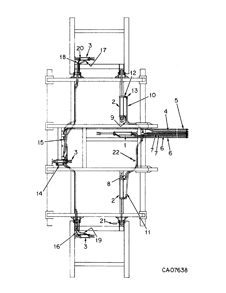
6
19
10
1
3
20
9
12
7
4
21
8
6
3
17
11
16
14
22
15
5
13
2
3
2
7
18
FIT
1:1
100%

Артикул

Название

Примечание

Количество

1

145213C92

CYLINDER

ASSY, hyd 4 x 16, for components see list of parts under details of hyd cyl

1шт.

2

1260725C91

CYLINDER

ASSY, hyd 4 x 24, for components see list of parts under details of hyd cyl

2шт.

3

145210C92

CYLINDER

ASSY, hyd 3 x 8, for components see list of parts under details of hyd cyl

3шт.

4

1256592C1

HYDRAULIC HOSE

HOSE, .264 in.

1шт.

5

1256593C1

HYDRAULIC HOSE

HOSE, .284 in.

1шт.

6

1256582C1

HYDRAULIC HOSE

HOSE, .173 in.

2шт.

7

1256581C1

HYDRAULIC HOSE

HOSE, .148 in.

2шт.

8

1256603C1

HOSE

76.5 in.

1шт.

9

1256604C1

HOSE

47 in.

1шт.

10

1256605C1

HOSE

72.5 in.

1шт.

11

1256602C1

HOSE

101.5 in.

1шт.

12

80033C1

ADAPTER

reducer

6шт.

13

1256517C1

ELBOW

90 deg hyd cyl

4шт.

14

1256696C1

HOSE, 16 in.

1шт.

15

1256599C1

HYDRAULIC HOSE

HOSE, 32.5 in.

1шт.

16

1256597C1

HYDRAULIC HOSE

HOSE, 114.5 in.

1шт.

17

1256594C1

HYDRAULIC HOSE

HOSE, .126 in.

1шт.

18

1256595C1

HYDRAULIC HOSE

HOSE, 138.5 in.

1шт.

19

1256598C1

HYDRAULIC HOSE

HOSE, .148 in.

1шт.

20

80035C1

ELBOW

reducer

6шт.

21

1256520C1

PIN

cyl lift

2шт.

Ref #21 - (1" X 4 7/16") 07/10/96

1шт.

617978R1

PIN,3/8" x 2 1/2", Coiled

4шт.

22

1256533C1

CLAMP

hose

14шт.

171754

BODY

1/4 x 1/2 p/hds tap

14шт.

Выбрано товаров: 25