Запчасти Case IH 415 (B-19) - LEVELING BAR ATTACHMENT, UNITS A THRU E

Схема запчастей Case IH 415 - (B-19) - LEVELING BAR ATTACHMENT, UNITS A THRU E
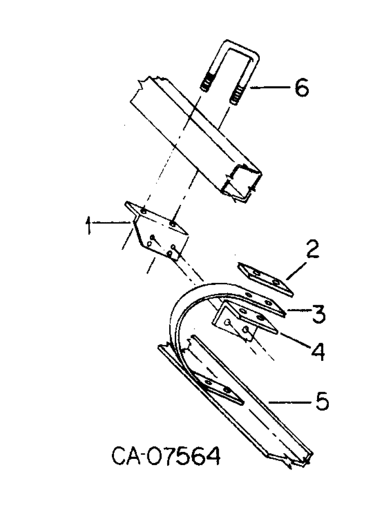
1
5
3
2
6
4
FIT
1:1
100%

Артикул

Название

Примечание

Количество

1

1256331C1

ANGLE

mounting, 2 for unit A, 4 for units B thru E

1шт.

2

1256332C1

BAR

strap, 2 for unit A, 4 for units B thru E

1шт.

3

1256333C1

SPRING

mounting, 2 for unit A, 4 for units B thru E

1шт.

4

1256334C1

ANGLE

adjusting

2шт.

5

1256335C1

ANGLE

leveler, unit A

1шт.

5

1256336C1

ANGLE

leveler, unit B

1шт.

5

1256339C1

ANGLE

leveler, unit C

1шт.

5

1256340C1

ANGLE

leveler, unit D

1шт.

5

1256341C1

ANGLE

leveler, unit E

1шт.

6

1251085C1

U-BOLT,3/4" - 10 x 4.063" W, 5.75" L

2 for unit A, 4 for unit B thru E

1шт.

87340

LOCK WASHER,Helical Spring, 0.759" ID, CST, ZND

WASHER, LOCK, 3/4", 4 for unit A, 8 for units B thru E

1шт.

280954

NUT,3/4"-10, G5

4 for unit A, 8 for units B thru E 3/4"-10, G5

1шт.

465567R1

CARRIAGE BOLT,Sht Sq Nk, 1/2" - 13 x 1 1/2", Gr 5

BOLT, 1/2 x 1-1/2 crg type 5, 4 for unit A, 8 for units B thru E

1шт.

180177

BOLT,Hex, 1/2" - 13 x 1 1/2", Gr 5

1/2 x 1-1/2 type 5, 4 for unit A, 8 for units B thru E

1шт.

120384

WASHER,1/2"

LOCK, , 8 for unit A; 16 for units B thru E 1/2"

1шт.

120378

NUT,Hex, 1/2" - 13, Gr 5

NUT, , 8 for unit A; 16 for units B thru E 1/2"-13, G5

1шт.

413-1024

BOLT,Hex, 5/8" - 11 x 1-1/2", Gr 5

5/8 x 1-1/2 type 5, 2 for unit A, 4 for units B thru E

1шт.

492-11062

BEARING WASHER,5/8"

WASHER, LOCK, , 2 for Unit A, 4 for Units B thru E 5/8"

1шт.

280374

NUT,Hex, 5/8" - 11, Gr 5

5/8 type 5, 2 for unit A, 4 for units B thru E

1шт.

Выбрано товаров: 19