Запчасти Case IH 415 (B-39) - HYDRAULIC CYLINDER 3-1/2 X 16 SV, IH

Схема запчастей Case IH 415 - (B-39) - HYDRAULIC CYLINDER 3-1/2 X 16 SV, IH
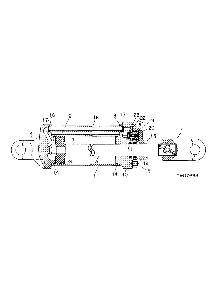
14
17
3
18
14
11
10
20
16
23
19
2
4
17
5
9
13
22
15
21
12
1
18
7
8
FIT
1:1
100%

Артикул

Название

Примечание

Количество

1260726C91

CYLINDER

ASSY, hyd 3-1/2 x 16 SV

1шт.

1

1260845C1

SLEEVE

hyd cylinder

1шт.

2

1255095C1

HEAD

hyd cylinder rear

1шт.

3

145239C2

ROD

hyd cylinder piston

1шт.

20268R1

LOCK NUT,7/8"-14, GC

NUT, 7/8-NF PHC p/t lock type 8

1шт.

4

145240C1

CLEVIS,1 -1/2" - 12

END, hyd cylinder piston rod

1шт.

5

180121

BOLT,Hex, 3/8" - 16 x 7/8", Gr 5

3/8 x 7/8 type 5

1шт.

6

145453C1

PLUG,Lock, 7.938mm Dia x 3.175mm Thk, Nylon

PAD, hyd cylinder piston rod end

1шт.

7

145422C1

PISTON

hyd cylinder

1шт.

8

380910R1

O-RING,0.103" Thk x 2.987" ID, -151, Cl 5, 75 Duro

3 x 3-3/16 class 5

1шт.

9

381086R1

RING

SEAL, hyd cylinder piston o-ring

1шт.

10

1255096C1

END

hyd cylinder front head

1шт.

11

119203C1

SEAL

SEAL, piston rod

1шт.

12

403460R1

WIPER SEAL,38mm ID x 50.9mm OD x 7.94mm Thk

SEAL, hyd cyl piston rod wiper

1шт.

13

224581C2

ARM

VALVE, hyd cylinder trip

1шт.

413-528

BOLT,Hex, 5/16" - 18 x 1-3/4", Gr 5

5/16 x 1-3/4 type 5

1шт.

1266705C1

SQUARE NUT

5/16-18 square

1шт.

14

343940R1

O-RING,3.234" ID x 0.139" Width

3-1/4 x 3-1/2 class 6

2шт.

15

1255098C1

TIE-ROD,5/8" - 11 x 549mm

BOLT, hyd cyl tie

4шт.

102639

NUT,5/8"-11, G5

4шт.

16

1255097C1

TUBE,0.75" OD, 481.537" Length

cyl return

1шт.

110730

LOCK WASHER

WASHER, 3/8 pln lt lock

1шт.

17

377952R1

O-RING,0.103" Thk x 0.549" ID, -113, Cl 6, 90 Duro

9/16 x 3/4 class 6

2шт.

18

371218R2

BACK-UP RING,0.594" ID x 0.36" Width

return tube o-ring back-up

2шт.

19

1260968C91

VALVE

ASSY, limit stop

1шт.

20

21590R1

O-RING,0.07" Thk x 0.176" ID, -8, Cl 6, 90 Duro

3/16 x 5/16 class 6

1шт.

21

368269R1

O-RING,0.116" Thk x 0.924" ID, -912, Cl 6, 90 Duro

3/4 OD tube class 6

1шт.

22

21433R1

O-RING,0.103" Thk x 0.674" ID, -115, Cl 6, 90 Duro

11/16 x 7/8 class 6

1шт.

23

224301C1

BACK-UP RING

WASHER, limit stop back-up

1шт.

79952C91

SEAL KIT

hyd cyl o-ring & seal

1шт.

Выбрано товаров: 30