Запчасти Case IH 415 (B-06) - HYDRAULIC EQUIPMENT, UNITS A THRU E

Схема запчастей Case IH 415 - (B-06) - HYDRAULIC EQUIPMENT, UNITS A THRU E
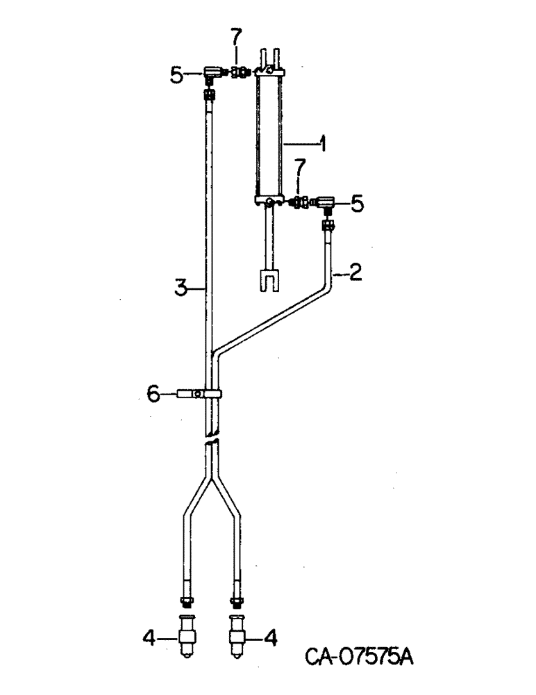
5
3
5
1
7
4
6
4
2
7
FIT
1:1
100%

Артикул

Название

Примечание

Количество

1

145212C92

CYLINDER

ASSY, hyd 3-1/2 x 16, for components see list of parts under details of hyd cyl

1шт.

1

1272149C92R

REMAN-HYD CYLINDER

415 INTERNATIONAL HARVESTER ROLLER MULCHER (DO NOT CUT TO CD), ASSY (1/80-), Reman for New PN 145212C92

1шт.

1

1272149C92C

CORE-HYD CYLINDER

Return Number

1шт.

2

125632601

HOSE, .222 in.

1шт.

3

125633001

HOSE, .238 in.

1шт.

4

9409287

CONNECTOR, ELEC

CONNECTOR, 1/2 C-Z hyd int thread

2шт.

5

444042

ELBOW,90 Degree, 3/8"-18 NPTF, Fem x 3/8"-18 NPTF Male

3/8-18 pln auto 90D pipe street

2шт.

6

1256351C1

CLAMP

hose

3шт.

264-1478

SELF-TAP SCREW,Slotted Pan Hd, 1/4" x 1/2"

1/4 x 1/2 p/hds tap

2шт.

7

603883C91

ROD, CONNECTING

ADAPTER, 3/4 to 1/2 male str thd female pipe swivel

2шт.

Выбрано товаров: 10