Запчасти Case IH 4400 (09-22) - DEPTH GAUGE AND MOUNTING

Схема запчастей Case IH 4400 - (09-22) - DEPTH GAUGE AND MOUNTING
1
3
8
5
9
10
2
6
7
4
FIT
1:1
100%

Артикул

Название

Примечание

Количество

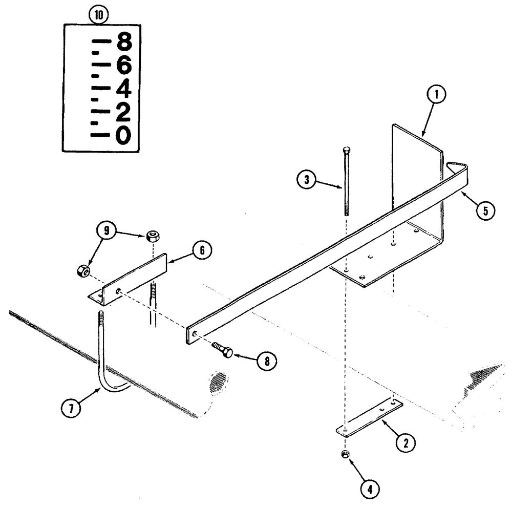
1

181955A1

SUPPORT

bracket depth gauge

1шт.

2

91371C1

BAR

depth gauge clamp

1шт.

3

413-480

BOLT,Hex, 1/4" - 20 x 5", Gr 5

bolt hex, 1/4NC x 5 inch

2шт.

4

231-4114

LOCK NUT,1/4"-20, GB

hex, self-locking direct, 1/4 inch NC

2шт.

5

181954A1

BAR

depth indicator

1шт.

6

91370C2

ANGLE

bracket depth indicator bar

1шт.

7

26943R1

U-BOLT,3/8" - 16 x 5 1/2"

BOLT "U" 3/8 inch NC

1шт.

8

413-616

BOLT,Hex, 3/8" - 16 x 1", Gr 5

1шт.

9

231-4116

NUT,3/8"-16, GB

hex, self-locking, 3/8 inch NC

3шт.

10

91372C1

DECAL

depth gauge

1шт.

Выбрано товаров: 10